返回上一页  首页 | cnbeta报时: 20:13:13
新专利显示苹果开发更薄的铰链以及改善iPad键盘触觉反馈
发布日期:2020-09-25 01:53:24  稿源:Win10s.COM

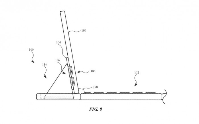
苹果公司正在研究一种iPad键盘盒的铰链机制,这种机制可以比标准组件折叠得更平,以及提供可调节触觉键反馈的新方法。苹果一项名为 "便携式电子设备的附件装置 "的专利,详细介绍了一种平板电脑键盘盒,并提供了可调节观察位置的新方法。虽然传统的铰链依赖于轴和夹子之间的啮合,但该专利概述了一种不同组件模仿传统铰链组件功能的方法。

例如,新的铰链组件可以使用两个铰链组件,通过接头连接,一般是平的。这与传统的铰链通常是圆形的、基于摩擦力的铰链形成对比。苹果在专利当中表示:"当从存储配置过渡到部署配置时,第一铰链部件围绕枢轴点旋转,但总体上保持平坦。然而,第一铰链组件的旋转导致第二铰链组件从平坦配置中移动出来,并将第二铰链组件提升到面板的支撑配置中。“

苹果认为,这种类型的铰链组件比传统的铰链组件具有优势。首先,扁平式铰链对组件本身的尺寸依赖性较小,这意味着键盘设备可以做得更薄、更平。该专利还指出,扁平式铰链组件在折叠时可以更好地隐藏起来。有趣的是,专利图片还显示了一个 "额外输入设备 "的空间,它可以在标准QWERTY键盘布局上增加一个触摸板或一排动态输入键。

另外在一项名为 "可调节反馈的键盘 "的单独专利中,苹果探索了如何在键盘上添加用户输入响应元素。该专利概述了各种内部组件,可以在用户按下按键时提供可变的触觉力或声音反馈。但该专利并不只是提供单一类型的按键反馈,而是详细介绍了几种可以调整触觉输入的有趣方式。

其中,该专利指出,用户可以调整键盘的音量和触觉反馈。喜欢更响亮、更点击体验的打字员可以选择,而喜欢打字更安静的用户则可以相应调整反馈。该专利还指出,按键可以使用触觉反馈,例如 "质感 "感觉或反馈凸起,以提供归位功能。这将类似于F和J键盘上通常存在的小凸起。

该专利的其他内容详细介绍了可以检测用户输入力的系统,或许可以剔除错误的输入或重复的按键。虽然不是严格意义上的iPad相关专利,但由于缺乏令人满意的触觉反馈,这些方法在平板电脑键盘壳上可能特别有用。

查看网友评论   返回完整版观看

返回上一页  首页 | cnbeta报时: 20:13:13

文字版  标准版  电脑端

© 2003-2026