当前的 Apple Pencil 已能够通过传感器来检测握笔时的倾角和笔触压力,从而使得 iPad 上的书写或绘画更加自然。但根据 2019 年 11 月提交、并于本周四向外界公布的一项专利申请,可知苹果正酝酿为未来的 Apple Pencil 手写笔集成新的功能 —— 通过一组特殊的光传感器,对现实物体的颜色进行检测和采样。

专利描述称:“色彩传感器上配备了可测量相应颜色通道的多个光电探测器,且具有一个或多个发光器件。控制电路可让它照亮外部物体,然后根据反射光来检测外部物体的颜色”。
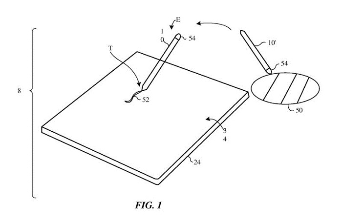
简而言之,该专利描述了一种能够精确采集显示物体颜色的传感器。在用户通过 Apple Pencil 触碰衬衫等物体之后,即可让绘图应用自动切换到精确匹配的颜色。
Apple Pencil 上的装置还可发出不同颜色的光,然后通过传感器套件来分析不同的颜色通道,并将数据发送到已连接的设备上(比如 iPad Pro 平板电脑)。

对于使用苹果设备的产品设计师、插图画师、以及艺术家们来说,这显然是一项梦寐已久的功能。当然,在硬件功能的基础上,也需要第三方应用的配合才能最终起效。
实际上,早在 2014 年的一项专利申请中,苹果公司就已经探索过类似的想法。先前的专利还设计各种可互换的笔尖,但周四公布的这项专利更专注于颜色的取样。