返回上一页  首页 | cnbeta报时: 03:59:40
苹果新专利:模块化框架部件让Apple Glass能实现功能扩展
发布日期:2020-06-26 14:15:05  稿源:Win10s.COM

据外媒报道,跟增强现实不同,Apple Glass可能拥有可拆卸镜腿,其可以被替换成拥有不同功能的镜腿,其中包括控制现实世界中的设备。即将推出的Apple Glass可能不是一款单一的设备。相反,它或未来的某个版本可能会由可以更换来满足用户需求的组件组成。

01.jpg

美国专利申请编号20200201042的“头戴式设备模块化系统(Modular system for head-mounted device)”主要是关于将对让眼镜在使用者耳朵上保持平衡的镜脚的更换。这些镜脚可以拥有不同的功能,玻璃框架本身也可以互换。

专利文件的图纸展示了这样一种Apple Glass或至少是类似该设备预期外观的眼镜。

苹果则表示,该专利虽然可能会提供一套功能不那么强大的镜脚,但在户外使用时,电池续航时间会变得更长。不过用户也可以更换使用高分辨率家用显示器的镜框,但却因此要付出电池寿命的代价。

另外,苹果还对佩戴者通过Apple Glass能看到什么以及他们如何跟屏幕上显示的东西互动继续进行了调查。

当苹果选择不开发整个虚拟现实系统时,背后的原因则是这家公司此前的首席设计师Jony Ive不喜欢用户被长时间隔离的想法。在他的带领下,这款Apple Glass将使用增强现实技术来呈现现实世界中的虚拟物体和实体物体。

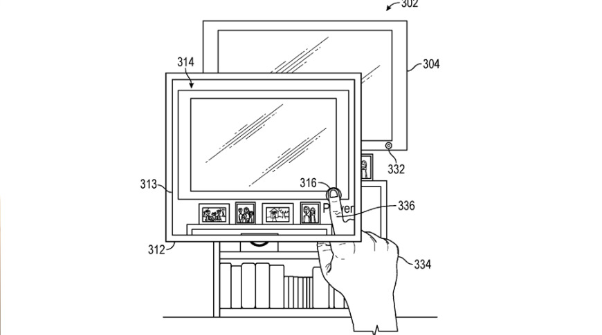
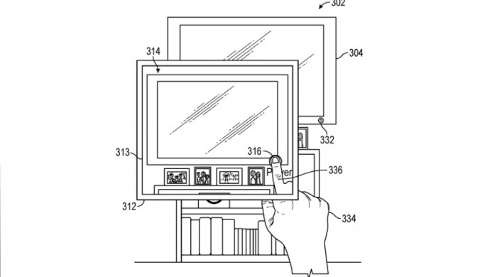
现在,苹果也在考虑模糊真实和虚拟物体之间的界限以帮助用户控制他们周围的设备。一个真实的物理对象比如用户面前的设备可以通过点击一个只显示在他们眼镜上的虚拟副本来控制。

02.jpg

Justin D. Stoyles和Michael Kuhn是这项专利背后的功臣。Stoyles的一项专利则是根据用户的面部表情来制作表情视频。Kuhn之前的许多专利则包括了在真实环境中显示虚拟信息。除此之外,Paul X. Wang和Dinesh C. Mathew两位发明家也不能被忽略。据悉,Wang申请过许多专利,其中包括一项关于使用手势控制Mac电脑的专利,而Mathew的专利涉及到一款智能戒指。

查看网友评论   返回完整版观看

返回上一页  首页 | cnbeta报时: 03:59:40

文字版  标准版  电脑端

© 2003-2026