返回上一页  首页 | cnbeta报时: 11:58:41
[图]苹果最新专利:有望解决VR头显和矫正眼镜的痛点
发布日期:2020-06-17 09:53:54  稿源:Win10s.COM

当前虚拟现实头戴设备面临的痛点之一就是,并非所有人都有完美的视力。很多人都会带着眼镜或者隐形眼镜来矫正视力,而这就会给头显制造商带来挑战。在苹果获得的最新专利中,有望解决这个痛点。

对于佩戴隐形眼镜的人来说,厂商在设计 VR 头显的时候就需要考虑到光学变形;而对于佩戴眼镜的用户来说,这会影响佩戴舒适感,如果摘下眼镜获得更舒适的头戴式体验,那么必然会降低虚拟现实的视觉效果。

本周二,美国商标和专利局(USPTO)授予并公示了一项苹果专利,名称为“Head-mounted display apparatus for retaining a portable electronic device with display”,苹果提出了一种新颖的解决方案。

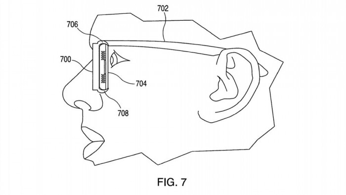
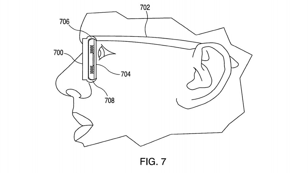
事实上,苹果已经多次重复利用该专利的名称,每次迭代都会在设计上增加一些变化。从根本上说,该设备由一个眼镜框组成,iPhone可以滑入眼镜框,并与内部连接器连接,一个眼镜框可以将iPhone直接定位在用户的眼前。

在这个新版专利中,苹果特别提及了苹果提出利用iPhone的显示屏来显示图像,同时在屏幕和用户眼睛之间加入光学元件,让用户正确地聚焦在图像上,仿佛显示屏比现实中的大,离眼睛更远。

该专利描述中表示,这个光学元件也可以用于常规眼镜中。它既可以用于一般的头显设计,也可以用于使用 "具有显示功能的手机 "的头显设计,这说明它是一个可以用于iPhone-显示版本以外的系统。

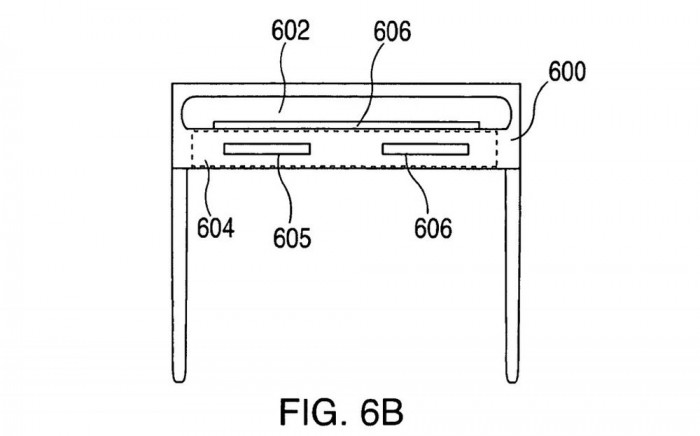
在苹果的概念中,光学组件将为每只眼睛使用同轴排列的镜头,或者使用可由中央系统调整的动态光学组件。这些光学元件可以包括透镜、导光板、光源、镜面和扩散器。

该系统将使用眼镜或隐形眼镜的处方信息来调整光学组件的位置和配置,以纠正用户的视力,有效地将处方镜片的好处加入到组件中。实际上,这将让用户摘下眼镜或隐形眼镜,戴上耳机,在体验中不会失去视力。

该系统将有一个处理器,根据用户的特定处方在不同的配置之间进行切换,不过对于视力正常的新用户来说,该系统将可行地回到 "标准 "设置。除了镜头组件,该专利还提到如何调整显示屏以更好地服务于用户的视力,包括改变显示屏上图像与眼睛的位置,以及调整内容大小以保持一致性。

查看网友评论   返回完整版观看

返回上一页  首页 | cnbeta报时: 11:58:41

文字版  标准版  电脑端

© 2003-2026