返回上一页  首页 | cnbeta报时: 20:12:35
专利显示未来Apple Watch表带可用作按钮 获得内置力反馈
发布日期:2020-06-09 22:44:47  稿源:Win10s.COM

苹果未来可以使用压电墨水为用户提供另一个输入表面,或者在Apple Watch的表带中提供触觉反馈,而不需要加入额外产生振动的硬件。像Apple Watch这样的设备是为了给佩戴者提供触觉反馈,利用电机产生振动,并通过设备传递到手腕上。美国专利和商标局周二授予苹果一项专利,名为 "带有压电墨水的电子设备 "。在这项专利当中,苹果设想的压电技术,并不涉及将其作为外壳内的传统振动组件,相反,苹果建议如何将其用于靠近用户触摸设备的地方。

更具体地说,该专利涉及创建压电痕迹的方法,因为苹果表示,通过传统的方法可能无法在表面或设备上添加一个压电组件。例如,将压电陶瓷晶片安装到柔性基板上可能不可行。苹果的解决方案是使用压电墨水,将压电材料分散在粘结剂内。这些颗粒可以由锆钛酸铅制成,而粘结剂可以由金属氧化物、硅酮等聚合物或类似的东西制成。

将压电油墨印制成压电油墨痕迹,可以沉积在各种曲面、柔性和其他非平面上。可行的是,同样的痕迹可以安装在可移动的物品上,如扬声器的振膜,这可以使一般扬声器的设计更轻或更不寻常。与油墨接触的控制电路在相邻的压电痕迹上提供彼此相位90度的波形信号,这反过来又可以产生表面波。

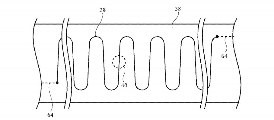
专利图表明,沿着Apple Watch表带使用压电痕迹可以提供更微妙的触觉反馈,用户通过与手腕的直接接触来感受这种反馈,它们可以集中在手腕的特定区域,例如向内的区域,这些区域可能对微小的振动更加敏感。

另一个例子是将水平和垂直轨迹组合成网格,用于键盘。通过将它们沉积在具有可移动键帽的键盘表面上,一旦它记录了一个按键的按压,该系统可以允许在按键上进行振动,。此外,由于压电元件也可以从压力中产生能量,因此,当用户按下按键时,同样的痕迹也可以产生一个可由控制电路读取的信号。这样的系统将消除对传统按键机构的需求,并可以创造出更轻薄的键盘。

该专利将其发明人列为Shravan Bharadwaj,他是苹果公司处理Mac制造设计的高级经理,已经为苹果公司工作了9年多。他的其他专利包括与三维电路制成的外壳、织物中的磁性材料以及提供可变响应的键盘有关的申请。苹果每周都会提交大量的专利申请,但虽然申请表明了该公司研发工作感兴趣的领域,但并不能保证这些概念会出现在未来的产品或服务中。

查看网友评论   返回完整版观看

返回上一页  首页 | cnbeta报时: 20:12:35

文字版  标准版  电脑端

© 2003-2026