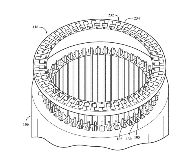
尽管提交了法律要求的文件,而且还提交了无数关于内饰和外观的专利,但苹果仍然不会说自己在制造汽车。但是,专利号10,630,127,题为 "带棒状绕线定子和端头冷却的电动机 "的美国专利,显示苹果公司正在研发一款适合苹果汽车的三相交流感应电机,采用与特斯拉相同的基本工程和电机设计原理。
该专利特别详细介绍了一种三段式交流感应电机,这只是汽车可能的几种电机系统中的一种。不过,它使用的是与特斯拉相同的松鼠笼式电机技术。苹果之所以会专门选择这种技术,也是出于和特斯拉一样的原因。它可以在电压/频率可控的情况下产生较高的启动力矩,价格更便宜,而且在崎岖的地形上也很有用。与永磁驱动等相比,这类电机的寿命也可以预期,需要的维护费用较少。
相比之下,福特和日产的混合动力汽车使用的是永磁同步电机。它们比感应电机效率更高,但成本更高,需要更多的维护。此外,它们的磁铁往往会随着时间的推移而磨损,需要更换。选择三相异步电动机,可能是因为这种技术的制造成本相对较低,不需要太多维护,而且在控制电压/频率时,可以产生较高的启动转矩。如果控制得当,三相交流感应电机的效率可以达到90%。问题在于这种控制的复杂性,尽管专利中没有明确详细说明苹果公司的处理系统。
相反,苹果公司的专利集中在电机技术与发动机散热方法的搭配上。专利显示,冷却结构与上部外环表面或下部外环表面中的至少一个处于导热关系,用于接收来自端部转环的热量。

