快播,一段传奇的历史,早已经走入历史,创始人王欣也在出狱后开始二次创业,和快播已经毫无关联。据最新了解,4月13日起,深圳市快播科技有限公司管理人(快播公司管理人)在淘宝网司法拍卖网络平台上,开始对深圳市快播科技有限公司(快播公司)名下的商标、专利进行公开拍卖。
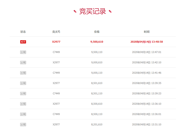
234项商标的起拍价为45110元,经过将近两天的时间、402次出价、292次延时,最终在今天下午13点48分,以9500610元的价格卖出。
121项专利的起拍价为133490元,但只有出价2次,而且没有加价,最终以134990元的原价成交。
据了解,快播公司的商标包括“快播”、“QVOD”、“快播Q”、“快播云”、“KUAIBO”等等,其中188项商标在专用权期限内,17项已失效,24项等待实质审查,5项为重复。
而拍卖的专利均为发明专利,其中54项处于剩余有效年限未交年费状态,其他专利状态为已失效。




有业内人士指出,作为昔日宅家神器的“快播”,商标还是具有吸引力的,但互联网业技术日新月异,过时的专利乏人问津也在情理之中。


快播公司于2018年9月3日正式进入破产清算,2020年1月2日公布第一次破产财产分配方案,可供分配的破产财产总额约为1.23亿元,普通债权的清偿比例为76.48%。
如今,深圳市快播科技有限公司的法定代表人为于璐,而王欣已经同快播公司脱钩,正在二次创业,成立并控股深圳市云歌人工智能技术有限公司。