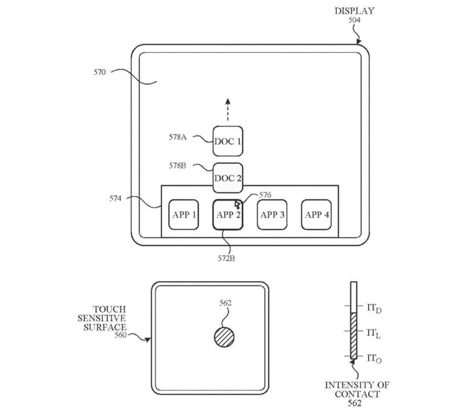
近年来,已经有不少电子设备已经支持 IP68 级别的防水特性,但液体对触屏的操控影响依然存在。有趣的是,一项编号为 20200104021 的美国专利,暗示了苹果不仅希望 iPhone 能够拥有基础的防水特性,还能够在水下正常使用。由描述可知,新专利与水下环境的精简用户界面有关。

资料图(来自:Apple 官网)
除了浸水环境中的触屏操作,专利还能够让 Face ID 摄像头感知屏幕的旋转方向,但却基于脸部相对于设备的角度来判断。
专利中写到:“当电子设备处于水下状态时,当前的 UI 设计会显得费时且效率低下,比如需要多次点击和包含功能无关的界面”。

苹果还认为,当事情变得繁琐时,操作也变得更加费时费电。有鉴于此,该公司决定在考虑到水对于触摸检测的影响的同时,进一步简化操控。
此外,在编号 20200104033 的另一项专利中,苹果强调了“基于面部检测的刷新用户界面的方法”,以便让屏幕旋转到用户期望的正确方向。

比如在设备平躺放置的时候,即使传感器可以明确地知晓设备的位置,但相对于用户使用方向的感知仍是有所欠缺的。
为此,苹果希望借助现有的 Face ID 技术的部分功能,同时严格保障用户的隐私。
据悉,新专利的发明人为 Kelsey Y. Ho、Eric J .Blumberg、Benjamin Biron 和 Colin C. Terndrup,前者还曾参与过多项其它专利的开发,比如基于姿态和可自动重试的面部识别技术。