“11号下午2点左右,大家突然被‘踢’出集团群,第二天让签离职协议走人。“多位简网生活圈燕郊分部员工对猎云网说道。一位员工分享了简网生活圈CEO丁钧于10月11日晚间发的邮件,其中提到,“公司目前账面现金余额不足以支付9月份工资,面临资金链断裂,预计在两周内借得用于支付9月份工资的款项并将于届时发放。之后公司将没有财产正常运作,无力支付大家9月后的薪水和离职补偿金。”
丁钧表示,公司将向员工出具欠款凭证,等财务状况好转或完成破产清算时,进行相应补偿。

来源:受访者供图
对于此消息,猎云网拨打丁钧电话进行求证。截止发稿,电话处于无人接听状态。随后,猎云网拨打了简网生活圈另一位管理层电话,对方表示“不方便透露”,随即挂掉电话。
来源:天眼查
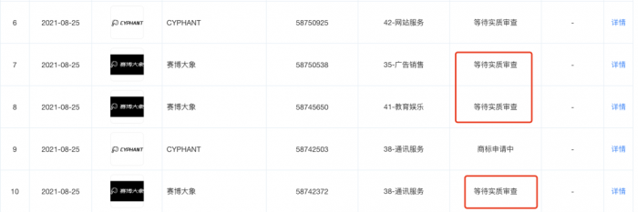
天眼查信息显示,赛博大象为北京一点网聚信息技术有限公司在8月25日注册的商标,目前处于实质审查状态。
来源:天眼查
天眼查显示,简网生活圈隶属于北京简网世纪科技有限公司,于2011年由丁钧创办。是一家聚焦下沉市场本地生活社区的公司,将城市本地信息、求职招聘、二手市场、邻里论坛、生活服务等多种服务聚合,其业务覆盖河北、山东、河南、江苏、内蒙等多个省份。公司先后获得启明创投数百万美元A轮投资,启明创投和凯旋创投的B轮投资。2019年,其还获得京东数科战略投资。
公开资料显示,丁钧在微软中国有过9年工作经历,2007年开始创业,先做广告联盟,后转型做APP工厂(生成APP的工具),生活圈产品是从APP工厂中孵化出来,并最终促使公司转型本地社区。
集团突然撤资,简网生活圈资金链断裂
无论从简网生活圈员工,还是丁钧邮件里,都提及资金链断裂背后,源于赛博大象集团中止与简网的合并。
王阳提供了一份公司框架结构,赛博大象集团旗下包括龙图游戏、一点资讯和简网生活圈三家公司。王阳介绍,今年3月,三方确定合并之后,举行了直播会议,集团还公开征集新名。
来源:天眼查
此后,简网生活圈开始大规模扩张,3月份至10月份,由覆盖30余个城市扩至100余个。但是高速扩张并没有达到预期效果。“以前扩一个城市,两三个月就成长起来,现在扩张这么多城市,七个月也没有达到预期目标,花了很多钱,大概几个亿左右。”
王阳表示,公司给出的说法是由于华为等手机厂商的限制。“以前生活圈的一些文章、当地热点事件等,可以随时弹出来,打开率很好,数据也非常好。但是今年华为手机限流量费,一条三毛钱左右,之后数据就慢慢变不好了,公司注意到这个情况,也慢慢收缩、停止扩张。”
来源:天眼查
根据天眼查信息,今年1月28日,北京简网世纪科技有限公司注册资本由3000万美元增至8000万美元。今年9月,其经营范围增添了水果蔬菜等食品经营信息。
此外,今年4月,其公司地址发生变更。北京市朝阳区酒仙桥北路9号(厂区)17幢一层A-017室,这与一点资讯办公地址在同一楼层,且紧密相邻。
从生活圈APP可以看到,包括团购、资讯、求职、二手车、广告等业务线。据员工透露,广告、求职业务发展最好,整个APP总注册用户几千万,单个城市圈日活几十万。
关于生活圈最新一次融资是来源于京东数科。2019年9月,京东数科宣布对生活圈进行战略投资。时任京东数字科技副总裁、个人服务群组总裁许凌表示,简网对低线城市用户有着高效的运营能力,同时也有丰富的原生流量资源,这些都是京东数科所看重的。
双方合作将进一步扩充京东数科的线上和线下服务版图,让数字科技进一步延伸至低线城市社区,以最贴近用户的方式构建起全场景多层次的营销生态平台。
针对下沉市场缺乏高活跃度、低成本、及满足多元需求产品的状况,简网提出“一个App解决所有本地问题”的概念,打造出本地综合服务平台生活圈APP。
“一个App解决所有本地问题,方能大幅降低交流交易成本。这是用户的刚需,是经济发展的客观规律”,简网CEO丁钧对双方的合作也充满信心,“我们将利用已验证的模式和方法,在下沉市场全面覆盖,实现原生用户流量的全面爆发,最终实现与京东数科在下沉市场的共赢”。
那么此次,赛博大象为什么突然中止合作呢?
一点资讯官方在猎云网求证时透露,目前一点资讯升级为赛博大象集团。但对于与简网生活圈中止合并事件,截止发稿,对方暂未回复。
一位简网生活圈员工向猎云网提供了一份内部流传的一点资讯CEO杨宇翔的内部信,但他不确认是否属实。
根据这封内部信,赛博集团以“市场发展的节奏和产品自身的业务链路特征,不适应集团发展战略“为由,终止合作。
这封流传的邮件里,杨宇翔表示,对生活圈收购的判断,是其重大战略决策失误,在生存和竞争的压力下,对于DAU的渴望,忽略了资源配置的整体性,导致一下子多出来近十条业务线,顾此失彼,每个业务链路都难以短期形成业务闭环。同时,对生活圈的大规模投入,也导致对其他战场的投入和发展节奏受到很大影响。
而这场短暂的合并,让简网生活圈大规模扩张,资金的突然撤离,也让简网生活圈资金链断裂。
王阳透露,目前日照、泰安、聊城和燕郊4个生活圈属于盈利状态,总部应该不会关停。据他了解,目前在运营的生活圈有在8个左右。
来源:天眼查
天眼查信息显示,济宁、日照、滕州、聊城、泰安等五个分公司处于在业状态,郑州等其余分公司皆为存续状态。
员工称被暴力裁员,“突然被踢出集团群”
简网生活圈总部位于北京,下设三个分部,分部是燕郊分部、郑州分部和天津滨海新区分部。其中,天津滨海新区8月底已经关闭,员工也拿到“N+1”补偿。燕郊和郑州员工则称被公司“暴力”裁员。
来源:天眼查
天眼查显示,北京简网世纪科技有限公司最新提供的2020年度报告里,其提供五险的员工人数为449人。
王阳透露,燕郊分公司现在整体只剩5%员工,运营部还留下几个人,推广部门已经全部被“踢”了。
田敏是简网生活圈郑州分部员工,11日晚上值班时她收到CEO丁钧发的邮件,“当时直系领导并没有说什么,邮件里也并没有说倒闭之类的话,我想着缓缓就会好。12日上午我们还在正常工作,下午就陆续收到离职协议,也没有任何人提前告知。12日晚上公司直接关闭了。13日发现钉钉公司框架里,已经不属于赛博集团。”
田敏还透露,12日晚上,燕郊过来出差的两个分发部经理,收到北京总部给的通知,把郑州办公区的几百部公司手机连夜寄过去,“不寄过去,他们九月份工资也没有了。”
田敏说,郑州这边的情况就是没人管,物业已经把公司所有东西都扣起来了,员工基本都是刚毕业的大学生,95后居多。“现在郑州分部已是人去楼空,从头到尾没有一个领导出面讲清楚是怎么回事。”
推广部门一位员工刘齐告诉猎云网,早于运营部,早在9月30日,他们就突然收到通知调岗去燕郊。员工如果不去的话,公司会补偿一个月薪资。他本来想十一节后移交完资源,就离职,没想到就收到了公司资金链断裂的通知。
在他看来,所谓的“调岗去燕郊”只是个幌子,“公司不想按照劳动合同里面规定赔偿员工罢了。”
截止发稿,王阳透露,目前在职员工,及怀孕,哺乳期的员工陆续收到了9月份薪资。没有签自愿离职协议的员工都还没给发。
刘齐表示,这两天郑州站员工陆续接到人事电话,“如果签了离职协议,晚上或者下周一薪资就到了。”
多位员工告诉猎云网,他们表示并不想签署这份协议,一是意味着公司撇清了关系,自己也得不到任何补偿。二是离职协议包含保密协议,若员工违背,将要赔偿离职当月标准工资的十倍。
(注:文中王阳、田敏、刘齐皆是化名。)
作者丨silence