返回上一页  首页 | cnbeta报时: 11:12:51
新专利申请显示苹果研发“光折叠”技术 为iPhone制作潜望镜头
发布日期:2021-01-29 01:39:26  稿源:Win10s.COM

一直以来,苹果有望为未来的iPhone开发一款 "折叠式摄像头"。据报道,最近,苹果一直在寻找供应商来制造这样的潜望镜镜头,现在一份新的专利申请解释了背后的思路。

此前有报道称,折叠式镜头系统可以减少iPhone背面的摄像头凸起。不过,苹果已经研究了好几年,已经拥有多项相关专利。最新的这项专利申请名为 "包括两个轻型折叠元件的相机",它特别关注的是如何改进相机同时,又能保持iPhone或者iPad的小外形尺寸。苹果在专利申请当中表示,小型移动多功能设备(如智能手机和平板电脑或pad设备)的出现,导致了对高分辨率、小外形尺寸相机的需求,这些相机重量轻、结构紧凑,并且能够以低F数捕捉高分辨率、高质量的图像。然而,由于传统相机技术的局限性,这类设备中使用的传统小型相机往往以较低的分辨率和/或较低的图像质量捕捉图。

苹果表示,需要的是具有小像素尺寸的光传感器和良好、紧凑的成像镜头系统。人们越来越期望小尺寸相机配备更高的像素数和/或更大像素尺寸的图像传感器,同时仍然保持足够紧凑的模块高度,以适应便携式电子设备。"

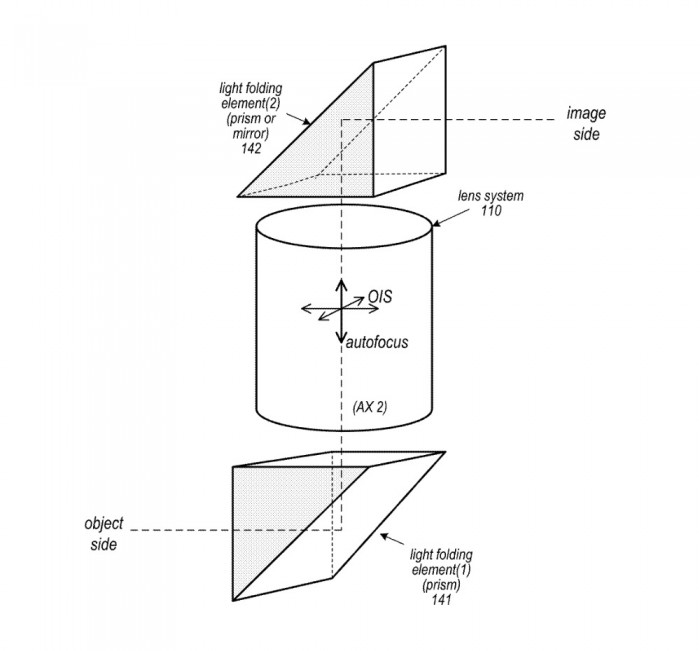
苹果这项专利细节显示了一系列光折叠棱镜或镜子。苹果的提案是镜头系统可以配置在相机中,独立于iPhone机身中的棱镜或镜子在一个或多个轴上移动。这份专利申请描述了非常多不同的镜头类型组合,以及镜头的数量,但大致上该提案遵循了一个核心思想。苹果表示,相机可以包括一个被配置为移动镜头系统的致动器组件,两个光折叠元件(例如两个棱镜,或一个棱镜和一个镜子。)以及潜望镜镜头,有望赋予的变焦功能,这种特殊的配置还可以 为相机提供光学图像稳定(OIS)功能。

查看网友评论   返回完整版观看

返回上一页  首页 | cnbeta报时: 11:12:51

文字版  标准版  电脑端

© 2003-2026