返回上一页  首页 | cnbeta报时: 14:40:18
专利显示未来折叠式iPhone可能会自行修复显示屏上的划痕或凹陷
发布日期:2020-10-01 22:32:34  稿源:Win10s.COM

在研究可折叠或弯曲的显示屏类型时,苹果现在还提出,iPhone显示屏本身可以 "治愈 "不可避免的磨损。现在,一项新披露的苹果专利申请提出了一种既能将损坏降到最低,又能在损坏发生时有所作为的方法。苹果这项专利名为"具有柔性显示盖层的电子设备",提出了混合刚性和柔性区域的显示屏,然后还利用了苹果所说的 "自我修复"。也许这个自愈部分才是专利申请中最有趣的部分。遗憾的是,虽然在申请书的1.1万多字中,有147处提到了它,但关于自我修复会有什么作用的细节很多,而关于它具体如何实现的细节却很少。

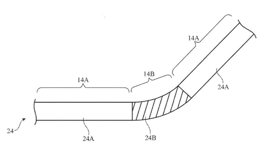
苹果在专利当中表示:"电子设备可以有一个铰链,允许设备围绕弯曲轴弯曲,一个显示屏可以跨越弯曲轴。为了便于在不损坏的情况下围绕弯曲轴弯曲,显示屏可以包括具有柔性部分的显示屏盖层。"苹果提出,虽然显示屏可以在整个设备上伸展,但它可能由三个元素组成。其中两个将是常规的固定屏幕,而第三个则是将这些屏幕连接在一起的柔性部分。

苹果表示,在电子设备的操作过程中,电子设备的显示盖层可能被划伤或凹陷,为了改善电子设备的美观性,可能希望将划痕和凹痕的存在降至最低。为了帮助减轻显示屏覆盖层中的凹痕、划痕或其他缺陷的数量,显示器覆盖层可以包括一层自愈合材料。苹果提出,这个柔性层本身可以 "包括一层弹性体",这就是自愈元件。弹性体是可拉伸的,但可以使其恢复到原来的形状,一个类比是某些床垫中的记忆泡沫。通常情况下,这种恢复到以前形状的能力是由热量引发的,比如人睡在床垫上的体温。

苹果表示,自愈合可能会在没有提示的情况下发生在自愈合材料层中(例如,当自愈合涂层出现凹痕时,即使没有外部干预,涂层的材料也可以填充凹痕),另外,自愈合可以通过外部施加的热、光、电流或其他类型的外部刺激来启动或加速,比如当电子设备充电时产生热量。

该专利申请确实试图涵盖所有可能的情况,因此例如它小心翼翼地指明,这项技术可以用于从 "计算设备,如笔记本电脑 "到手机,甚至 "更小的设备,如腕表设备、吊坠设备、可穿戴设备或其他类型的微型设备"。它还说,显示屏可以是这种由两个刚性元件和中间的一个柔性元件组成的配置,但也可以是单个显示屏。不过在所有的描述中,都认为显示屏将由多层组成,它可能有一个由透明玻璃、透明塑料、蓝宝石或其他透明材料形成的最外层,作为薄膜晶体管电路和其他显示结构的保护层,有些层将作为实际的显示屏,而其他层则是为了保护该屏幕,尤其是当它被弯曲时,设备可以围绕弯曲轴线进行折叠,在其折叠状态下,从设备的外部可以看到显示屏。

查看网友评论   返回完整版观看

返回上一页  首页 | cnbeta报时: 14:40:18

文字版  标准版  电脑端

© 2003-2026