返回上一页  首页 | cnbeta报时: 19:31:46
根据最近发布的专利 PS5可能兼容PSP和PSV
发布日期:2020-09-07 02:32:34  稿源:3DMGame

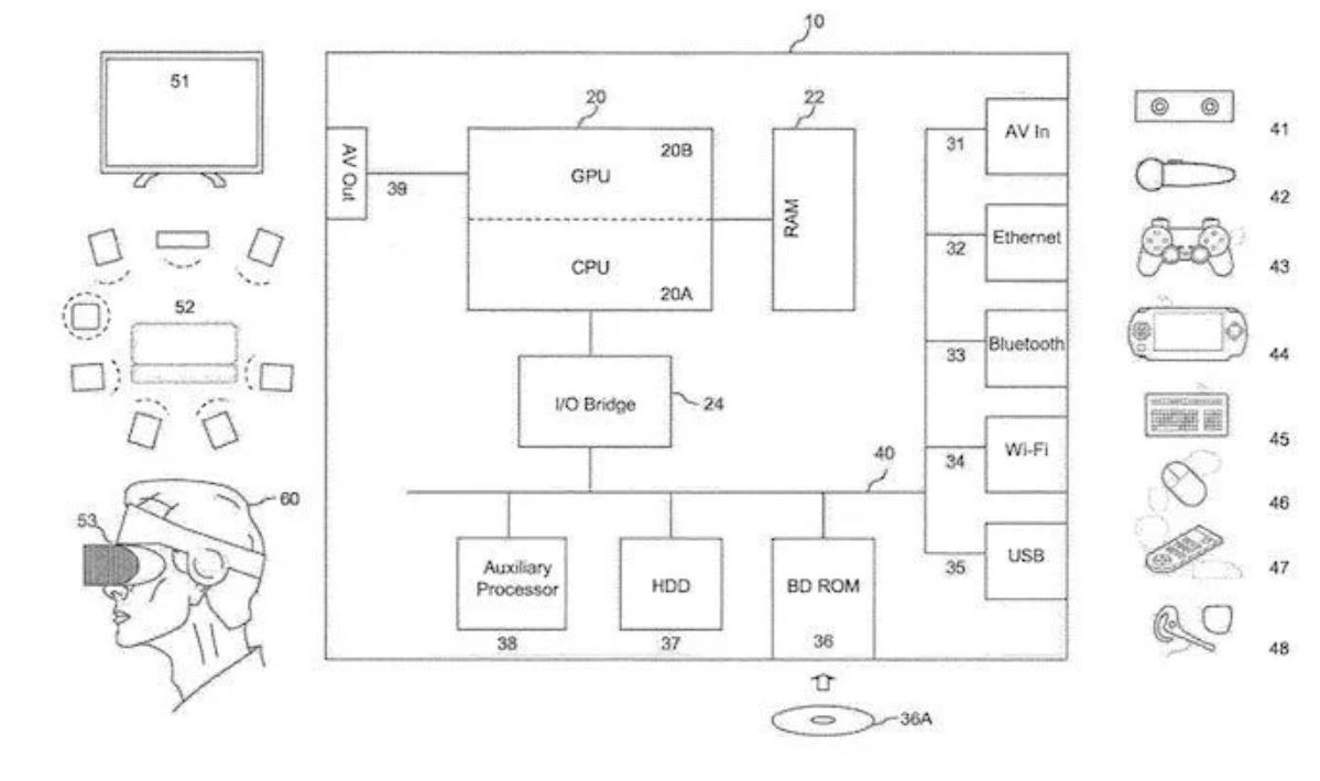
PS5的推出将会伴随着大量的新配件,以充分利用其新的硬件能力,但也有可能这台新主机也将兼容一些老的PlayStation硬件。索尼在2月份申请了一项专利,并在8月份发布了这项专利,该专利表明这款即将上市的新主机可能兼容自家老掌机PSP和PS Vita。

该专利涉及了配件的兼容性,在插图中,展示了各种配件,从PSVR头显和PlayStation摄像头到鼠标和键盘,再到普通的老式手柄,还有PSP和PS Vita。专利中明确提到了这两种手持设备。

有可能Remote Play特性会在PS5上回归,这可以解释为什么它可能是兼容PS Vita——另外PSP,只有一个摇杆,也没有触摸屏和背部触摸板,在控制输入方面比PSV少很多,所以它的加入可以说是相当有趣的,但也会产生不少问题。

当然,就像其他任何专利一样,有专利不代表就一定有最终的产品,这可能只是索尼保护自己的想法和技术的一个实例。

查看网友评论   返回完整版观看

返回上一页  首页 | cnbeta报时: 19:31:46

文字版  标准版  电脑端

© 2003-2026