返回上一页  首页 | cnbeta报时: 01:52:55
新专利显示MacBook Pro铰链可以动态调整键盘角度 让打字更舒适
发布日期:2020-09-02 02:13:27  稿源:Win10s.COM

MacBook Pro未来可能会变得更加符合人体工程学,苹果公司研究增加一个铰链机制,提高键盘角度和显示屏高度,以创造一个更加舒适的打字姿势。除了调整整个笔记本的角度以创造更好的打字位置外,还可以随时选择连接外部键盘和鼠标,并有效地将其变成类似Mac的台式机来使用。

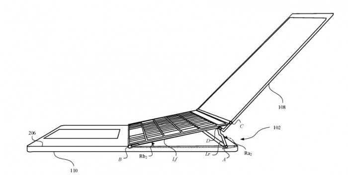
在周二授予苹果的一项名为 "用于便携式电子设备的联动组件 "的专利中,苹果概述了一些可以让MacBook对用户更加符合人体工程学的方法,而不需要外部辅助工具。简而言之,苹果认为用户可以从将MacBook的后半部分抬高,以创造一个更加舒适的打字姿势。

苹果没有在下面创造一个脚架,而是走了一条更有设计感的路线,即让MacBook的主底座保持在它所停留的表面上。相反,MacBook 的顶面反而可以抬起来。最基本的一种是抬高背部部分,使整个顶面向用户倾斜,包括触控板部分。另一种形式是只将键盘元件在后部抬起,使键盘倾斜,同时保持触控板平直。

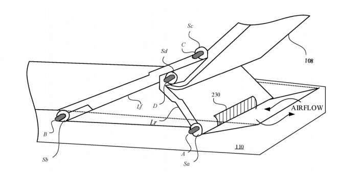
在所有情况下,苹果都设想显示屏与键盘一起抬起来,因此用户总是能看到它。无论如何升高,显示屏的底部将始终与键盘的顶部相接。该专利还提出了各种联动组件,以便在打开 MacBook 时让各部分升起。这些联动装置仍然可以让显示屏根据用户的喜好改变角度,在某些情况下还会内置停止点,以防止显示屏过于后退。

除了帮助打字角度之外,铰链机制对顶部组件的部分抬高也为增加内部组件的气流提供了机会。键盘的底部可以包括通风口和风扇排风口,隐藏在用户看不到的地方,热空气会被键盘导回并远离。这个想法并不只限于MacBooks。在一些图纸中,苹果公司建议,这样的显示器和键盘组件可以内置在一张桌子上。虽然当显示器降下时,它将与表面的其他部分保持齐平,但打开它将把键盘和显示器提升到一个更舒适的位置。

苹果每周都会提交大量的专利申请,但虽然专利的存在并不能保证产品在未来会使用这些想法,但它们确实展示了苹果研发团队感兴趣的领域。

查看网友评论   返回完整版观看

返回上一页  首页 | cnbeta报时: 01:52:55

文字版  标准版  电脑端

© 2003-2026