返回上一页  首页 | cnbeta报时: 00:24:52
专利显示苹果设备未来只在特定部位为用户提供物理反馈
发布日期:2020-09-02 01:30:09  稿源:Win10s.COM

苹果的Taptic Engine在未来可能会有很大的变化,只在iPhone或Apple Watch的特定位置为用户提供物理反馈,或者将设备的外壳变形,给用户一个可触摸的提醒。触觉反馈是智能手机使用中常见的一部分,使用电机振动移动设备,几乎无声地提醒用户注意事件,可以单独或与声音通知协同使用。

虽然通常仅限于通知,但触觉反馈也被应用于其他基于确认的方式,例如告诉用户他们已经按下了软件键盘上的一个键或Haptic Touch的一个按钮。虽然触觉反馈非常有用,但它也是一种潜在的烦恼。重复的嗡嗡声可能会让用户或其他人分心。完全关闭通知可能意味着用户错过了一些重要的事情,因此完全禁用通知就不太理想了。

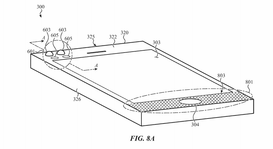
在美国专利和商标局周二授予的一项名为 "电子设备的触觉通知 "的专利中,苹果延续了向用户发出物理通知的主题。不过,它并没有直截了当地震动整个设备,而是提出只让设备的某个特定区域成为可以感受到物理反馈的点,同时对设备的其他部分产生更柔和的影响。理论上,这将为用户带来比传统通知更少的干扰和更多的调整体验,在某些情况下,它可以使用户选择只需触摸设备的某个部位就能感受到通知。

在这项研究中,重点触觉反馈的区域将在设备上被定义,主要包括用户可以用手指触摸的区域,但不要过于频繁,且不妨碍正常使用。建议的区域包括Apple Watch的侧板、MacBook的触控板边缘或iPhone显示屏的边框角落。一张图片显示,该区域可以是耳塞的硅胶尖端,这可能意味着佩戴耳塞的用户可以感受到通知,但不会有任何恼人的噪音打断音乐播放。

该设备可能只是被构造成将触觉反馈的振动集中到该特定区域。它还可以包括某种形式的凸起或脊,可以按需突出,既能告知用户其目的,又能突出较低功率的振动。由于通知的类型可以不同,该区域的振动也可以不同。可以使用多个致动器来产生不同的感觉和强度,以便为用户区分通知。系统可能不一定要依靠局部的嗡嗡声,但仍然可以提供超局部的通知。这些可以由各种致动器控制,包括线性、磁力、磁阻和电活性版本。

苹果每周都会提交大量的专利申请,但并不能保证这些概念会出现在未来的产品或服务中。

查看网友评论   返回完整版观看

返回上一页  首页 | cnbeta报时: 00:24:52

文字版  标准版  电脑端

© 2003-2026