返回上一页  首页 | cnbeta报时: 23:05:31
[图]Apple Car新专利曝光:检测后方来车 锁定车门 避免碰撞
发布日期:2020-08-14 07:17:20  稿源:Win10s.COM

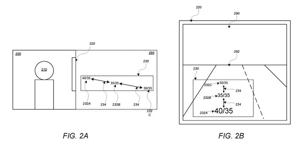
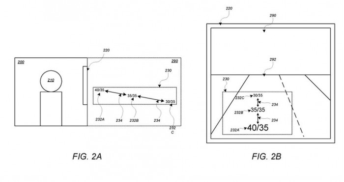
根据美国商标和专利局(USPTO)本周四公示的清单,苹果获得了两项技术专利。其中一项名为“位于车辆附近的动态元素”,在车门上安装智能系统,能够检测车门周围是否存在移动的物体(例如机动车、非机动车等),从而保护车内乘客的安全。

当前车门为车主和乘客提供的功能还比较简单。它有助于保持车辆的坚固性,支撑部件,在碰撞时最大程度地减少感觉冲击,以及将车门锁上之后能帮助乘客免受攻击者的伤害。

车门虽然也集成了很多的功能,但是智能化程度明显不足。在苹果描述的这项车门专利中,在车门上安装了传感器,通过检测车门周围是否存在移动物体,从而进行分析判断。而且专利描述中表示,当检测到后方有车辆经过的时候,这个车门就能保持锁定状态,或者限定车门的打开角度,从而避免车内乘客和后方车辆发生碰撞。

另一项专利利用了增强现实(AR)增强车载系统。在“Augmented reality display system”(增强现实屏幕系统)专利中,创建了一个或者多个透明的表面,例如挡风玻璃。通过 AR 系统能够向乘客、驾驶员显示车辆的重要信息,例如车速、导航等等。

同一系统将能够提供额外的细节,例如将增强的图形叠加在道路元素上(例如使用其他语言显示的更明亮的路标),以使驾驶员更容易看到和理解。对于行驶路线,同一系统可以突出显示道路上的预定路径,供驾驶员遵循。

查看网友评论   返回完整版观看

返回上一页  首页 | cnbeta报时: 23:05:31

文字版  标准版  电脑端

© 2003-2026