周二的时候,美国专利商标局(USPTO)正式认可了苹果提交的一项系统专利,特点是能够检测挡风玻璃上的裂缝。基于此,许多人猜测苹果会为传说中的 Apple Car 引入这项功能。据悉,该系统可借助红外光来检测玻璃是否存在任何问题,并在事态扩大之前向用户发出警示。

特斯拉 Cybertruck 直播截图
早高速行驶过程中,汽车风挡很容易因为撞到碎石而产生裂纹。如果留着较小的裂缝不及时处理,其很可能在突然之间变得恶化。在雨水湿气穿过玻璃的同时,还可能对车上的其它电子设备造成影响。
除了汽车玻璃,这项专利还能够轻松应用于其它场景,比如检查建筑物的窗户。结合边缘位置的布线,还有助于检测剥离裂缝的位置和大小。
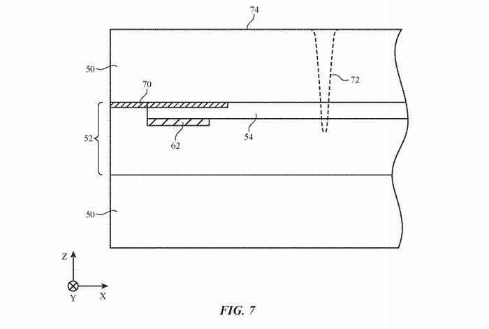
文档还建议在玻璃上加装红外光遮挡层,通过顶部的导电层与控制电路相连,然后就可用于测量电阻和加热窗户。

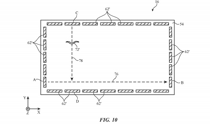
如图所示,沿窗口边缘的细长金属条(分段端子)可在通电时被加热,但它们同时也能够进行电气测量。
当在窗户上形成裂缝时,就会破坏玻璃夹层的一部分,进而影响导电层将电流传递到其它端子的方式,然后系统可对此进行分析。
通过在外部使用多排端子,系统可在玻璃表面上“绘制”出一幅电阻数据图像,以反映裂纹的区域、总体位置、大小、以及可能的形状。

据悉,这项专利的发明者为 Martin Melcher、Christopher D. Jones 和 James R. Wilson,申请提交日期为 2017 年 7 月 14 日。
遗憾的是,尽管这项专利让我们想到了传说中的 Apple Car 。但鉴于该公司每周都会提交大量的专利申请,此事仅能反映苹果对这方面存在一定的兴趣,并不意味着它将很快与大家见面。
此外今年 8 月,苹果获得了一项将显示屏嵌入车窗的专利。2019 年,该公司畅想过在车窗上添加光纤元件。更早的文件还暗示了更多的愿景,比如为驾驶员提供 AR 视图,以显示前进的路线。