返回上一页  首页 | cnbeta报时: 02:28:10
新专利显示Apple Watch天线可以移到后部改善信号质量
发布日期:2020-08-12 00:08:25  稿源:Win10s.COM

未来版本Apple Watch可以将其天线分布在整个可穿戴设备的机身上,包括在后壳上一些与无线连接有关的天线,以提高接收质量。Apple Watch依靠多种不同类型的无线电信号来运作,包括管理蓝牙、Wi-Fi、NFC、GPS和蜂窝连接的信号。由于这些系统依赖于准确地拾取不同的波长,这就需要使用多根天线,因为一根天线可能对一种信号有效,但对另一种信号无效。

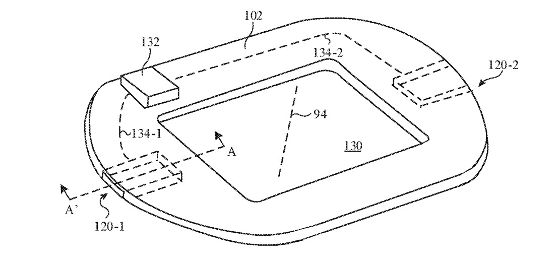
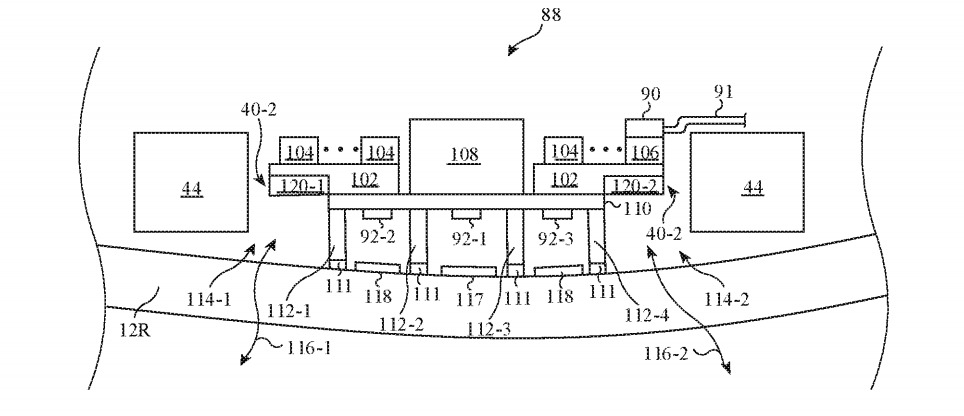
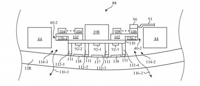
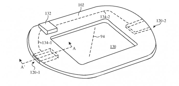
除了要为所有的天线找到空间,数量也意味着它们有可能相互干扰,因此天线的位置必须完美。美国专利和商标局周二授予苹果一项名为 "具有集成天线结构电子设备 "的专利,其中苹果提出了一个解决方案,即在Apple Watch的背面有一个电介质后壳壁,可以用来放置一些天线。苹果提出可以在后壳壁上形成一个背面电路模块,该模块可以包括印刷电路基板、传感器组件、电路和其他元件,以及基板和电介质外壳之间的支撑结构。该电路模块可以包括后侧的线圈结构,使无线充电和其他类似功能得以工作。基板还可以包括可以让传感器组件和电路通过的开口,比如用于监测用户心率的后部模块。

对于天线,苹果表示,它可以在基板内嵌入一个天线谐振元件,在相对的两侧嵌入多个这样的元件。这些元件可以连接到为NFC等事物供电的射频收发器电路上,申请书中建议这将用于10GHz以上的射频信号。多个金属层和介电层可以堆叠在基底上,夹在基底层之间,可用于创建天线谐振元件。可以应用更多的层来创建射频传输线。这种版本可以使用介电结构中的突出元件来固定天线谐振元件,这些元件远离传感器组件和电路延伸,以最大限度地减少干扰。

简而言之,苹果的建议是希望将天线安装在Apple Watch内部朝后的一层。虽然这样可以让天线有更多的空间来发挥功能,不受干扰,但这确实会让天线远离Apple Watch本身的顶面表面,如果不干扰显示屏的话,这将是天线最理想的放置位置。苹果将该层设想为一个环形,这样就不会干扰心率传感器。将其放置在后壳和手腕附近并不完全是个坏主意,因为这确实让Apple Watch外壳中没有传感器和按钮的侧面成为无线电信号通过的理想场所。

苹果每周都会提交大量的专利申请,但并不能保证这些专利会出现在未来的产品或服务中。

查看网友评论   返回完整版观看

返回上一页  首页 | cnbeta报时: 02:28:10

文字版  标准版  电脑端

© 2003-2026