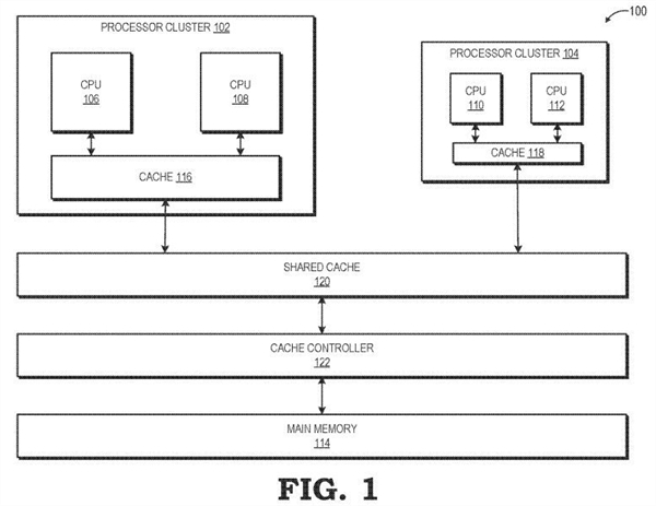
Intel已通过Lakefield产品旗帜鲜明地将x86推向big.LITTLE混合架构,据说12代酷睿Alder Lake更是要借此摸到16核。看起来AMD这边也没闲着,对于big.LITTLE同样在做着布局。国外网友挖到的AMD专利文档显示,它概述了一种用于实现低功耗操作的新指令集子集。
具体来说,它允许一个指令子集在为更高性能而优化的更大以及全功能处理核上执行,而第二个指令子集则运行在为提高功率效率而设计的较小的简化核上。该专利还概述了基于一定变量,核心使用共享内存以加快线程的传输的方法。

在实践中,大内核将执行性能敏感的工作负载,而较小的核心将执行轻度负载。当一个核心不忙时,它可能会被关闭,从而进一步降低功耗。
有观点认为,AMD专利中描述的方法似乎允许处理器根据内核支持的指令独立地在每个集群上运行相应类型的线程。不过,这种设计不局限于CPU,GPU和DSP等都囊括在内。
考虑到台积电这些年也在封装上发力,AMD或许会考虑在时机成熟时拿出所谓的big.LITTLE混合架构产品。
以下为专利文档部分内容,供参考——





