返回上一页  首页 | cnbeta报时: 02:14:47
Apple Pencil未来或能从现实世界中提取颜色并加以使用
发布日期:2020-07-18 13:03:03  稿源:Win10s.COM

据外媒报道,根据美国专利和商标局本周发布的一份苹果专利申请文件了解到,苹果正在探索新的Apple Pencil技术,该技术可以让该设备从现实世界中采样颜色,然后被用到数字艺术、绘图、编辑等场景中。

Screenshot_2020-07-18 Future Apple Pencil Could Have Sensor to Sample Colors From the Real World(1).png

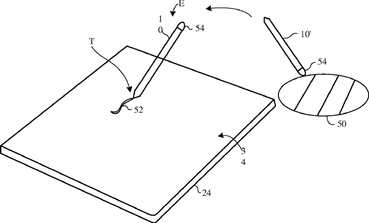
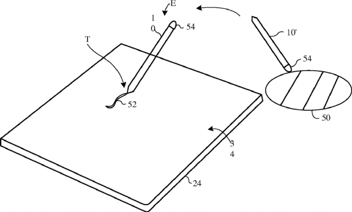
该专利名为“带有颜色采样笔的计算机系统(Computer System With Color Sampling Stylus)”描述了一种可能带有颜色传感器的计算机笔。

这种颜色传感器将配备数个能测量不同颜色通道的光的光电探测器,这将使其能从一个真实世界的物体中检测到某种颜色并对其采样。与此同时,手写笔也可以配备光源来让光电探测器更准确地确定颜色。

苹果表示,颜色传感器功能可以安装在触控笔的末端、笔尖或通过光导连接到笔尖。

Screenshot_2020-07-18 Future Apple Pencil Could Have Sensor to Sample Colors From the Real World.png

有了这种技术加持,Apple Pencil‌用户将能将其用于逼真的绘画,或只是从草、植物、现有的艺术中采样独特的颜色等等。

根据专利文件描述显示,手写笔将能检测出颜色然后将其放入到绘图程序的调色板中,然后再将颜色分配给画笔。此外,苹果还表明,色彩传感器也许还能用于其他用途,如校准显示器、校准打印机、健康相关的检测、为家庭投影仪确定颜色等等。

然而目前谁也无法保证苹果最终会将这项技术付诸于行动。

查看网友评论   返回完整版观看

返回上一页  首页 | cnbeta报时: 02:14:47

文字版  标准版  电脑端

© 2003-2026