返回上一页  首页 | cnbeta报时: 08:13:15
专利显示苹果公司正在研究自供电Wi-Fi或蜂窝基站
发布日期:2020-07-15 01:17:41  稿源:Win10s.COM

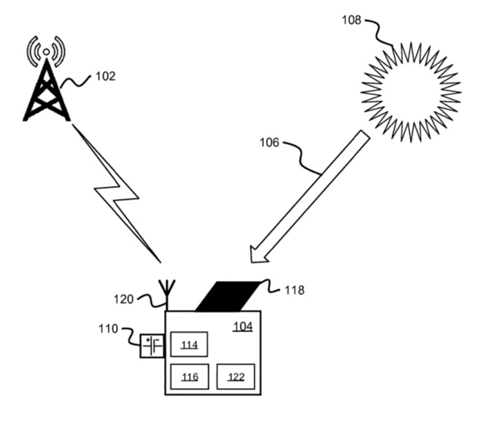
苹果公司正在研究Wi-Fi或蜂窝基站,这些基站既不需要交流电,也不需要人为干预就能保持自己的充电和供电,而且在断电后还能重新加入网络。苹果现在已经获得了一项专利,美国专利号10,716,114,这项专利名为“用于能量收集设备的断电通知和上下文保存",但尽管该专利刚刚被授予,但它是在2015年申请的。

与所有专利一样,这项专利试图通过尽可能广泛的描述来覆盖每一个可能的应用。所以在整个文件中,苹果提到了能量收集设备(EHDs),可以是太阳能电池板、风力涡轮机或更多。它还广泛地提到了无线,而不是指定Wi-Fi或仅仅是蜂窝,但始终是适用于位于无线网络上的供电设备。

苹果在专利当中表示,由于环境条件和EHDs从中获取能量可以变化,EHDs获取能量的速度也可以相应变化。苹果继续指出,通常有帮助的是在设备中配备一个电池,它可以用来存储EHD采集的能量,以便能量可以用于EHD执行的操作。

然而,如果EHD收获能量的速率低于EHD消耗和/或损失能量的速率,时间长到足以耗尽能量存储装置中存储的能量,EHD可用的能量量可能会减少到需要暂时停止EHD的耗能操作的程度,直到再次有足够的能量可用。

换句话说,如果现在没有足够的电力直接进入,而电池中又没有足够的能量可以汲取,那么设备就会停止工作。这显然是个问题。苹果在这项专利中提出的,通过能量收集方法供电的无线设备,可以告诉网络什么时候会因为没电而停止工作。然后当它的电量足够时,可以向蜂窝基站发送连接恢复通信,表明EHD的能量水平足够高,可以恢复无线连接。,

该专利详细介绍了基站设备可以向网络发出警报的不同方法,还提供了非常多类型的设备的例子,这些设备可以使用这种方法。这项专利对用户的意义在于,将有可能把设备放置在例如有阳光照射,但在其他方面难以到达的区域。由于这些设备永远不需要手动充电或更换电池,它们可以一次安装而不需要人员维护。

查看网友评论   返回完整版观看

返回上一页  首页 | cnbeta报时: 08:13:15

文字版  标准版  电脑端

© 2003-2026