苹果公司正在研究多种方法,以简化用户如何选择他们想要观看的内容的操作。当前该公司已将所有内容都汇集到 Apple TV 应用上,但相关流程还是过于繁琐。好消息是,未来苹果服务能够记住用户想要在哪个设备上启动哪款 App、选择要观看的节目、并将相关内容和配置信息流式传输到其它设备上。

资料图(来自:Apple 官网)
其实在 Apple TV 上,用户已能够要求 Siri 展示“由 Reese Witherspoon 主演的影片”,然后 Apple TV 就会向用户展示带有特定影片的横幅 UI 。点击其中任意一个,都可展开显示更详细的信息。
通常情况下,这包括从 iTunes 购买电影或节目的能力。如果已经订阅了其它服务,还可在 Disney+ 等第三方平台中进行检索。不过近日曝光的三项新专利,揭示了苹果想要更进一步。
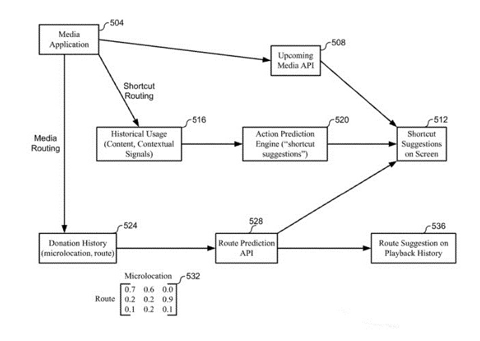
在美国专利 No.20200221180 中,该公司提到了“媒体路径预测”(Predictive Media Routing)的新设想。
比如用户可以打开 App、选择内容内容、点击播放按钮以在本地设备上进行播放。或者点击另一个按钮,选择可用的设备列表,以将内容串流传输到其它地方。

在美国专利 20200221366 中,该公司还提到了“基于微定位的路径预测”(Predictive Routing Based on Microlocation)。
在这个类似的设想中,苹果希望设计一款支持音视频媒体播放、远程控制电视 / 扬声器、以及管理其它用户连接的应用程序。
该公司称:当在移动设备上存储大量内容时,将使得预期中的应用程序或功能调用变得相当费时费力。如果可以借助机器学习技术来预测用户行为,便可召唤 Siri 来轻松实现相关操作。

在第三项 20200221155 美国专利中,苹果继续着眼于整个流程的体验。即用户必须按下多少次按钮,才能开始观看他们想要欣赏的内容。
作为一项激进的交互策略,新专利试图完全跳过按键操作,而是仅通过语音来实现。只是对于 Siri 来说,还需要更加智能地预测用户到底想在哪个设备的屏幕上观看。