向美国专利局提交的图纸显示了苹果为iPhone 11 Pro相机单元提供了许多不同设计。在苹果于2019年首次发布iPhone 11 Pro一周后,该公司为其设计提交了专利申请,现在已经被美国专利局披露。其中在基本的外壳设计之上,有很多伟大但熟悉的细节,其中包括后置摄像头阵列的多种变化。
在名为"便携式电子设备",美国专利申请号为20200221002的专利申请当中,苹果一次也没有提到iPhone 11 Pro,也没有提到iPhone,而且它只用了一次 "手机 "这个词。因此,可以想象,这真的是某项未来便携式电子设备的专利申请,但是外观看起来类似iPhone 11 Pro。
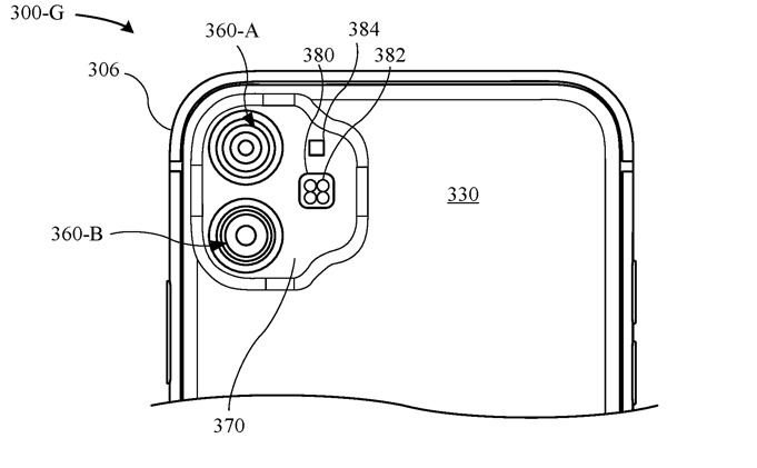
这些选项似乎也是纯粹的美学选择,因为该申请试图穷尽摄像头位置的变化,并且申请专利。申请书说,沿着过渡边缘的任何表面形状都可以作为一种设计选择来实现,只要它不影响部分由凸起部分承载的相机模块、闪光灯模块和麦克风模块的操作和功能。选项之间的差异集中在镜头的具体位置,以及容纳它们的凸起或 "过渡边缘"。在每种情况下,都有一个闪光灯开口,以及一个麦克风,尽管有时两者都是方形的,而不是iPhone 11 Pro的最终圆形形状。
苹果在专利申请当中表示,摄像头模块、闪光灯模块和麦克风模块的开口可以是矩形、正方形、圆形、三角形等形状的任意组合。一张专利图显示只有两个镜头,和iPhone 11一样。其余的都有三个,而且它们以不同的方式排列。第一、第二和第三摄像头的开口呈L形,或第一和第二摄像头模块相互对齐,第二和第三摄像头模块相互对齐。、
看起来苹果在专利申请当中尝试了所有可能的镜头排列方式。从图纸和基本描述来看,每一个单独的镜头都与最终的iPhone相同,但凸起部分的整体形状却有很大的差异。

