自 iPhone 5s 至今年的 iPhone SE 第二代,Touch ID 在 7 年之后随着新冠疫情重新回到了用户视线。我们已经知道,为了屏占比以及手机一体性,近几年的旗舰 iPhone 使用 Face ID 代替 Touch ID 以进行生物识别。但现在,戴着口罩的人们对那个圆圆的 Touch ID 模组的思念,就像它面世时的惊叹一样强烈。
苹果意识到了这一点,他们并没有放弃在高端产品内再次使用 Touch ID 的想法。据目前的流言,苹果正在继续研发光学屏下指纹,如果进展顺利,会在之后发布的 iPhone 内得以实装。

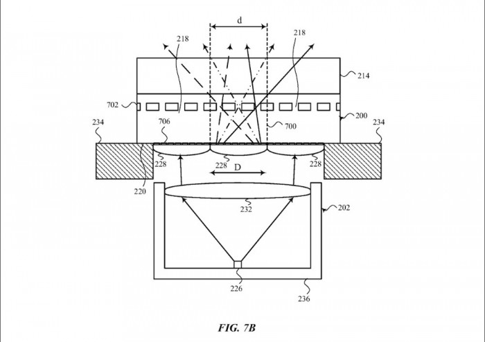
近日,美国专利商标局发布了两项关于屏下 Touch ID 的全新专利申请,第一项是“通过微光学原件的光学传输、接收和感知”,该专利详细介绍了在屏幕下方的光学传感器,并表示该技术“可以捕捉对象或用户的2D或3D图像信息”,例如指纹信息。通过这枚光学传感器,光线能通过屏幕下方透射至屏幕上方,这项技术的难点在于屏幕质量,但苹果一向使用顶级屏幕面板,想必不是什么大问题。
不过,该技术早已不是难以逾越的鸿沟,大量安卓设备已经进行普及。不过苹果的标准向来严苛,肯定会对该技术进行大量测试才会实装。
另一项专利则是“光学指纹检测系统”。为了解决温度对 OLED 屏幕的影响,该专利可为光学指纹模组提供温度补偿以保证屏下指纹识别率。
此前有不少媒体报道了有关搭载屏下指纹的消息。在四月份,供应链曾传出消息称苹果会选择与合作伙伴共同研发屏下指纹模组;彭博社的 Mark Gurman 也表示苹果正在研发这一技术;分析师郭明錤则表示,苹果会在 2021 年发布搭载屏下指纹的手机产品。
除了光学指纹识别外,苹果还在研发基于声学的指纹识别,如三星在 Galaxy S10 系列首次推出的超声波屏下指纹技术。
对苹果来说,他们在未来不可能一直向消费者销售像新 iPhone SE 一样屏占比较低的产品,作为提升设备屏占比有效且成本不高的方式,或许我们很快就能看到拥有屏下 Touch ID 的 iPhone 产品了。