返回上一页  首页 | cnbeta报时: 17:01:34
苹果柔性玻璃屏幕专利或能助力打造出可折叠iPhone
发布日期:2020-07-06 10:58:31  稿源:Win10s.COM

据外媒mspoweruser报道,其最近发布的一篇报道称,苹果的可折叠iPhone将包括像Surface Duo那样的两块玻璃面板,而不是像三星Galaxy Fold那样的一块可折叠面板,但这并不意味着该公司就不涉足无边框可折叠设备。实际上这家公司在2020年3月提交的一份专利申请文件中提出了一种独特的折叠玻璃屏幕的方法。

001.png

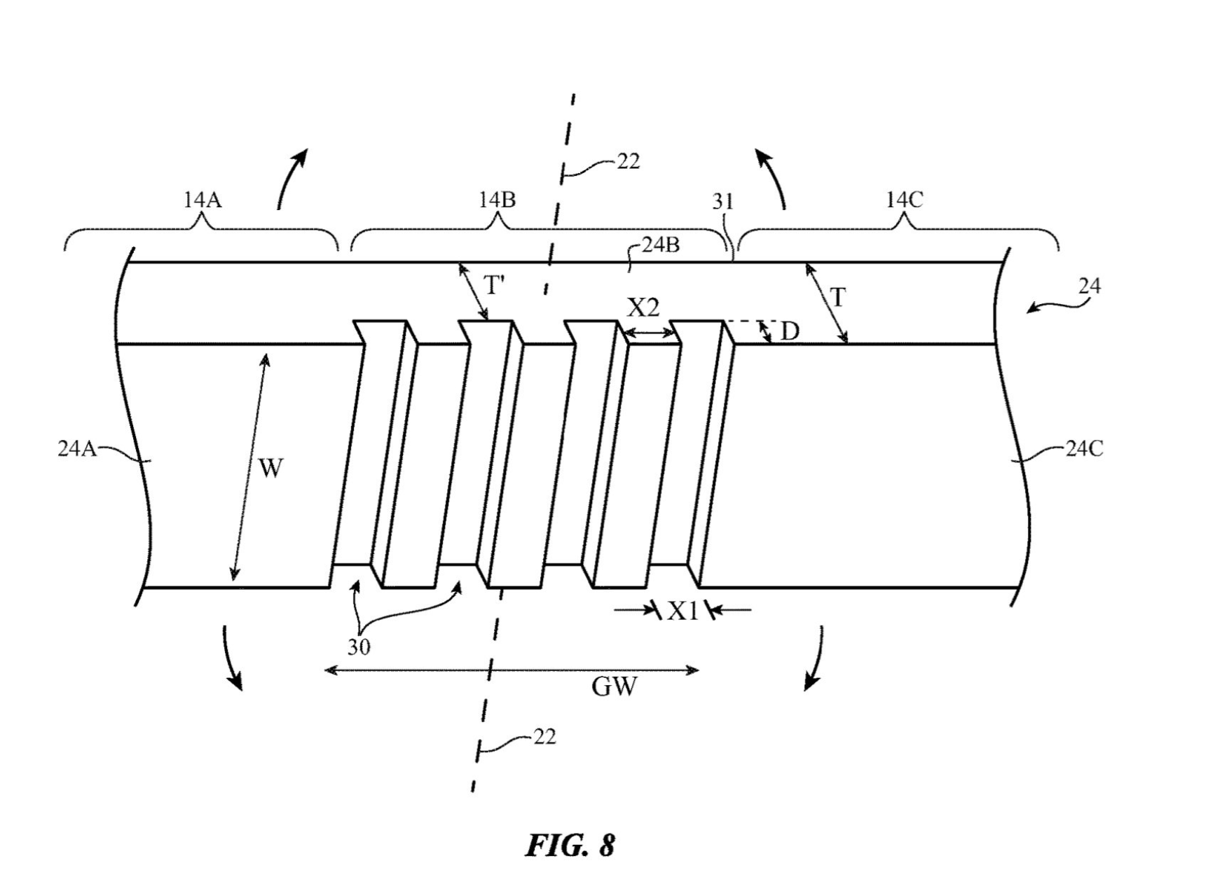
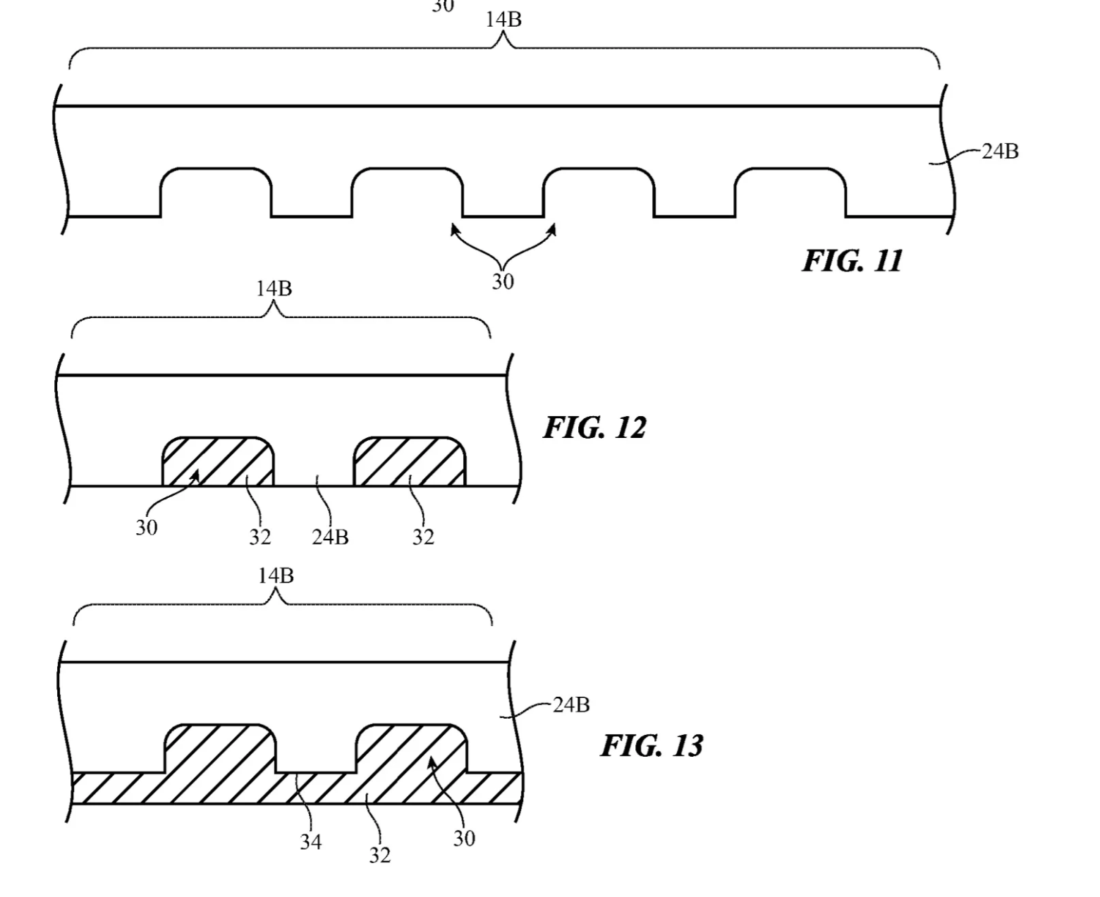
苹果在专利文件中建议在玻璃表面的内部切割一系列凹槽,这将使玻璃具有弯曲而不刽被折断的灵活性,这一过程在木材中被称为Kerfing,该过程可以在下面的视频中看到:

苹果提出了用跟玻璃折射率相同的弹性聚合物或液体填充凹槽,这样差不多可以让人们看不到凹槽的存在。

002.png

凹槽当然只会在玻璃的折叠区域,显示器的其他部分则跟正常的显示器一样。

苹果将使用真正柔性材料的方法可能在机械上不那么复杂,但制造起来却困难不小。

查看专利全部信息可戳这里

查看网友评论   返回完整版观看

返回上一页  首页 | cnbeta报时: 17:01:34

文字版  标准版  电脑端

© 2003-2026