随着从英特尔切换到ARM体系,苹果正在为其Mac迎来重大的变化,但新的Apple Silicon可能不是唯一的改变。最新批准的一项专利显示,MacBook Pro在专利文件中显示出最多可以拥有六块屏幕,包括主显示屏和Touch Bar。
昨天获得了中国国家知识产权局的批准的这份专利由MyFixGuide发现,它描述了一种 "动态显示界面"的笔记本电脑,将键盘部分的空白区域装上了小显示屏。
我们可以在其中一张插图中看到,不同的显示器可以根据运行的程序,用于特定的用途。在显示图像编辑器的例子中,屏幕用于缩放、改变级别、滑块和访问不同的工具。我们还看到一个文字处理器,将额外的显示屏用于文档摘要和系统按钮。
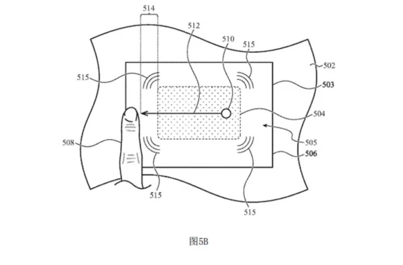
专利图片中似乎缺乏触控板,这可能表明底部显示屏区域被用于此目的。苹果之前的一项专利描述了一款MacBook,其触摸界面表面可以移动和调整大小。它还利用了新专利中提到的触觉反馈,因此用户知道触控板的边界。
该专利还描述了背光键,虽然这不是什么新鲜事,但按键周围的表面也可以被照亮。可以用来突出某些组键,可能是提高打字速度的一种方式。



