返回上一页  首页 | cnbeta报时: 04:54:47
PS5开发机设计图揭开其怪异深V造型设计的秘密
发布日期:2020-06-05 07:58:15  稿源:3DMGame

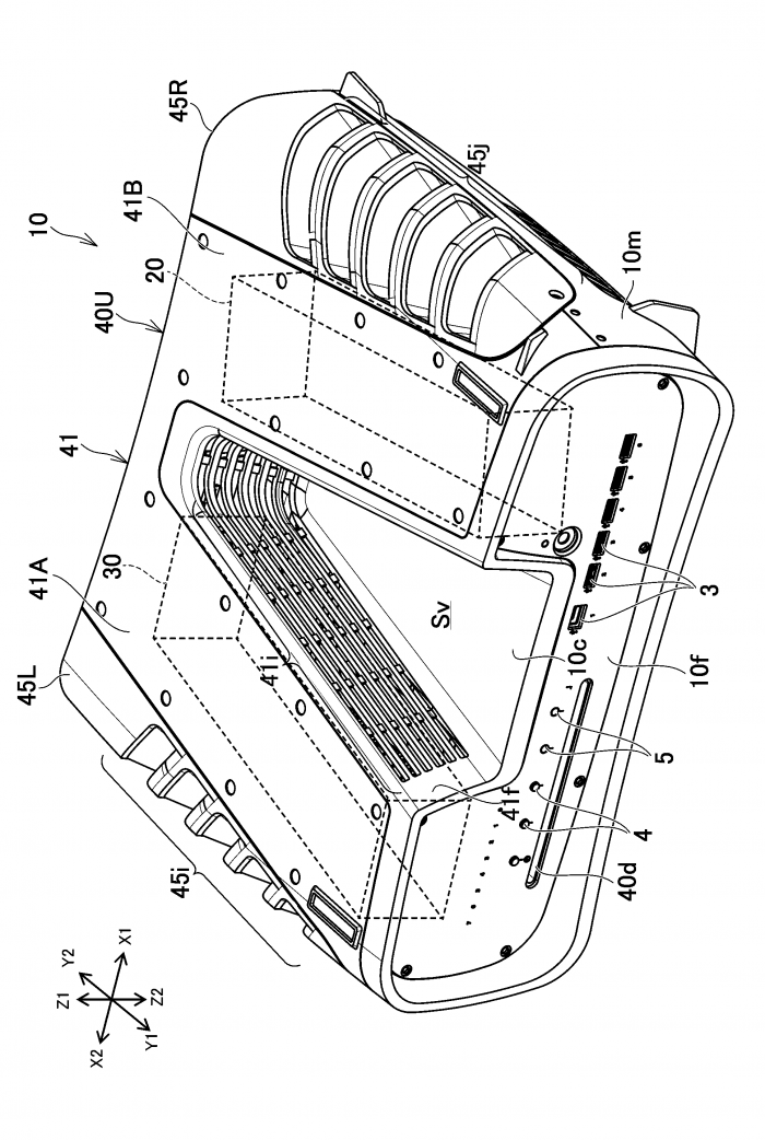
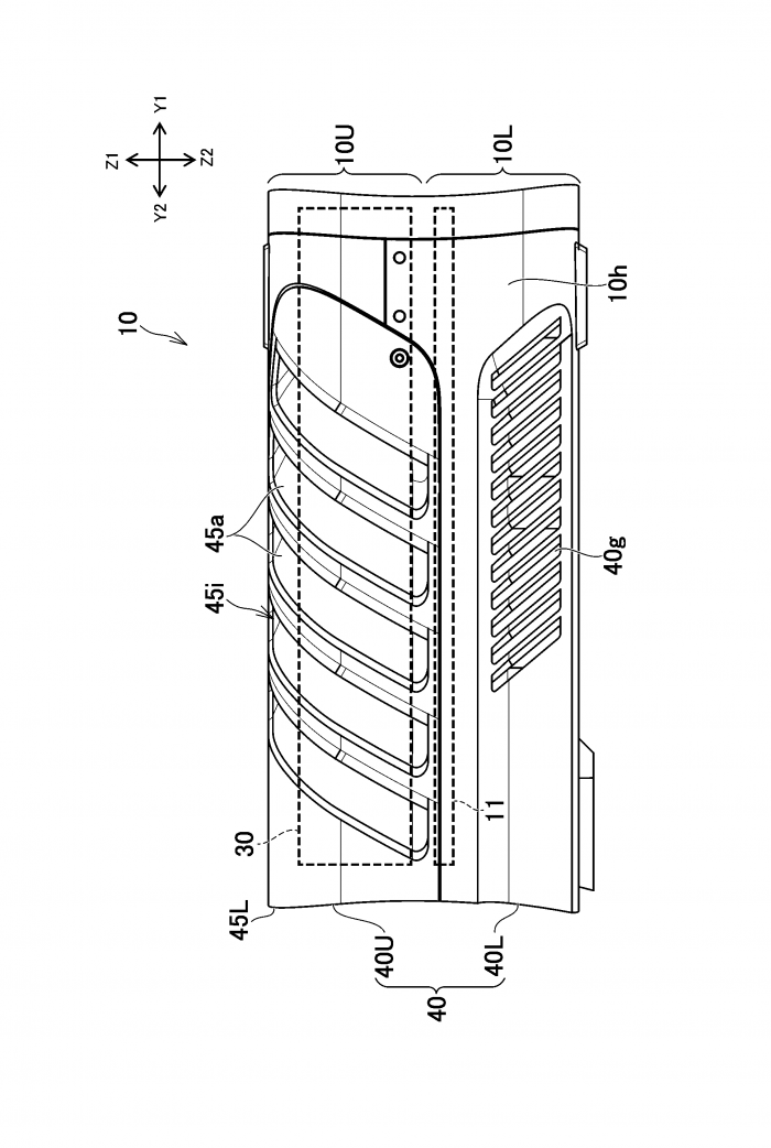
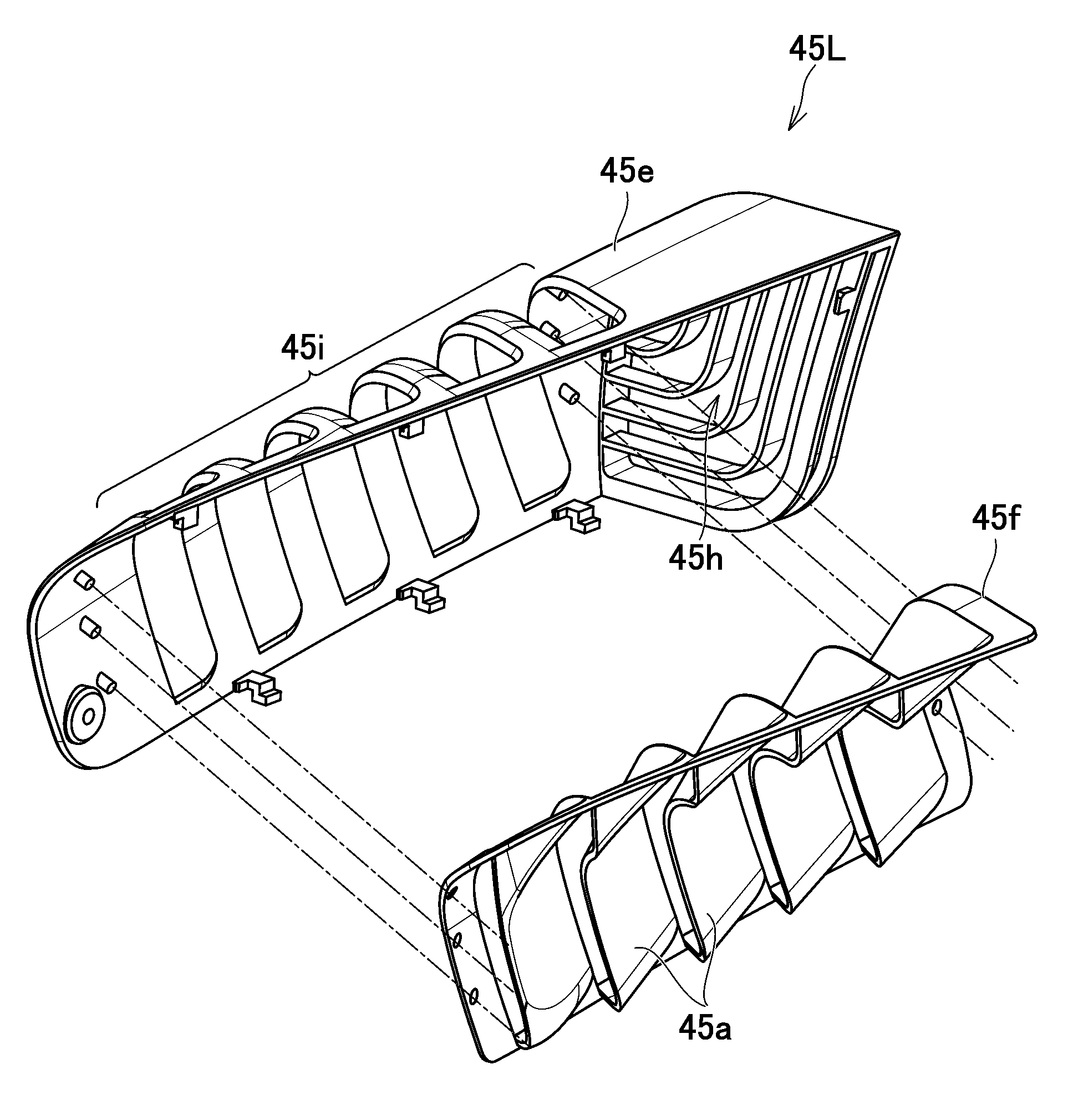
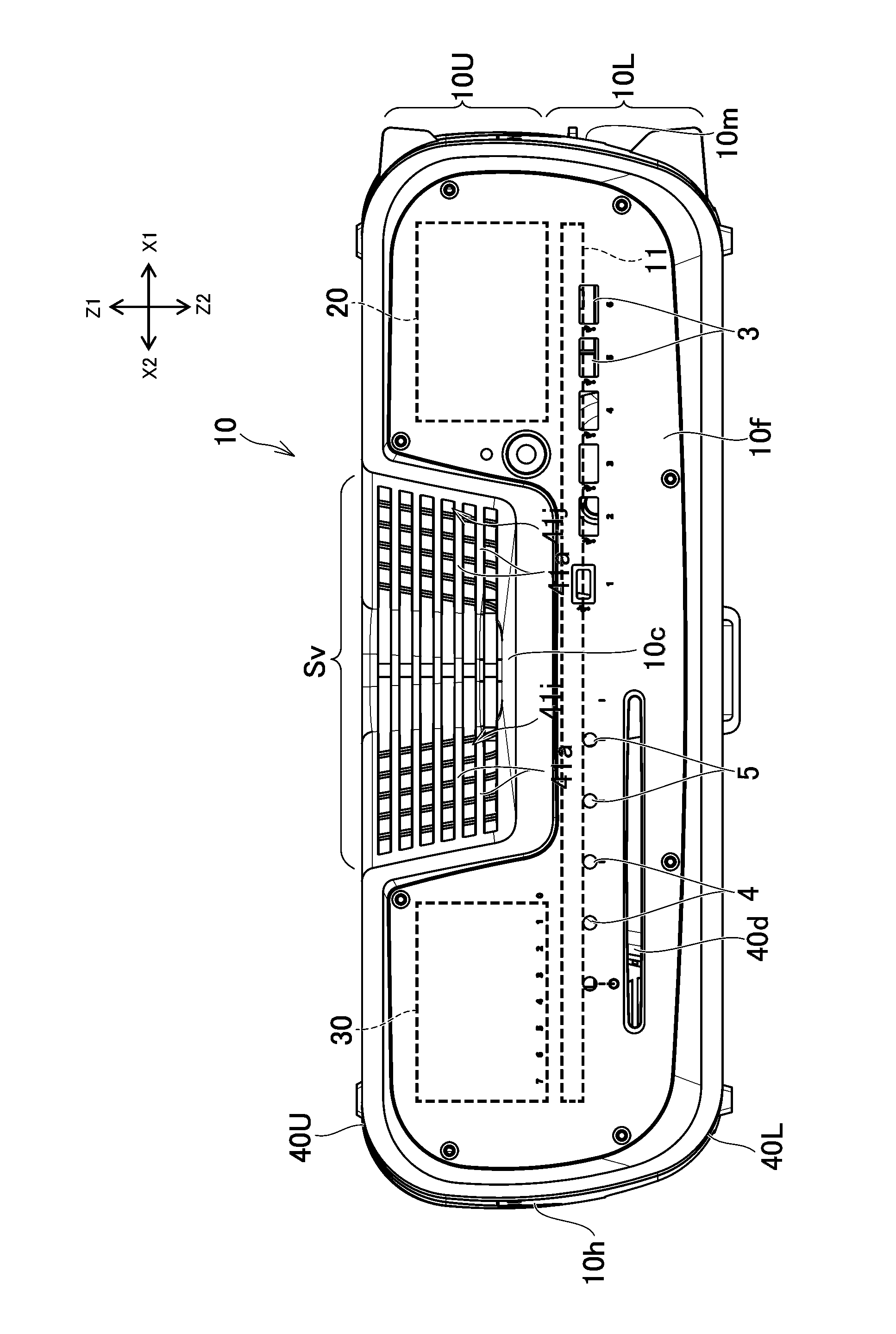
虽然索尼下一代家用游戏机PS5的硬件指标已经发布,可是索尼却一直没能公开该主机的外观。另一方面,PS5游戏开发机的外形早早泄露,今天(5日)的一份专利申请中,我们能够更加深入地了解这台号称“深V”造型的奇怪产品。

根据今天公开的专利申请页面信息显示,索尼早在2019年11月就申请了PS5开发机的专利。在专利文件中,有各个角度乃至拆解的内部布局图。虽然目前尚不能看到面向普通玩家的PS5,不过至少我们首次能观看PS5开发机内部。

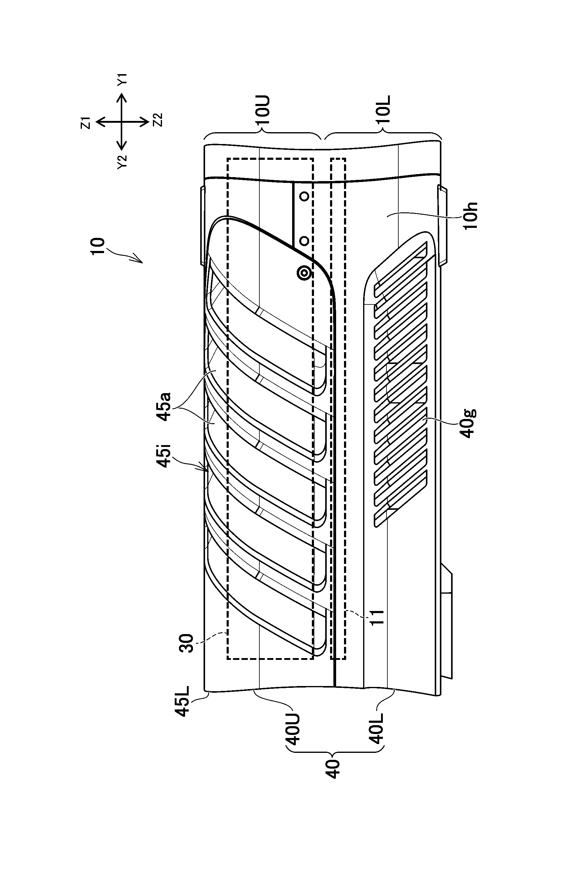
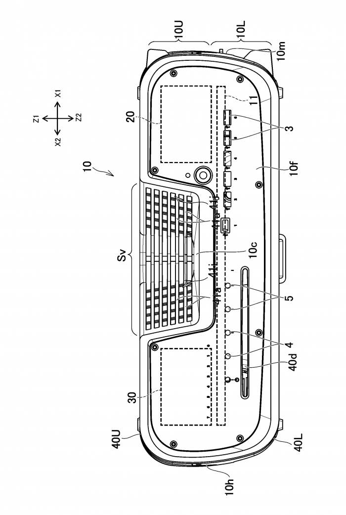
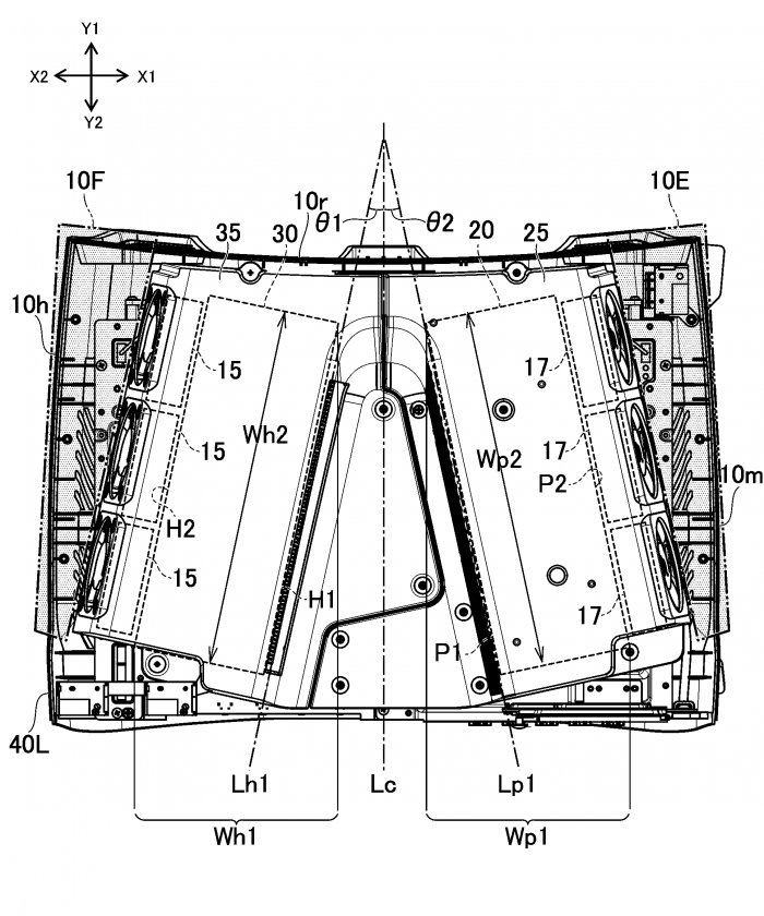
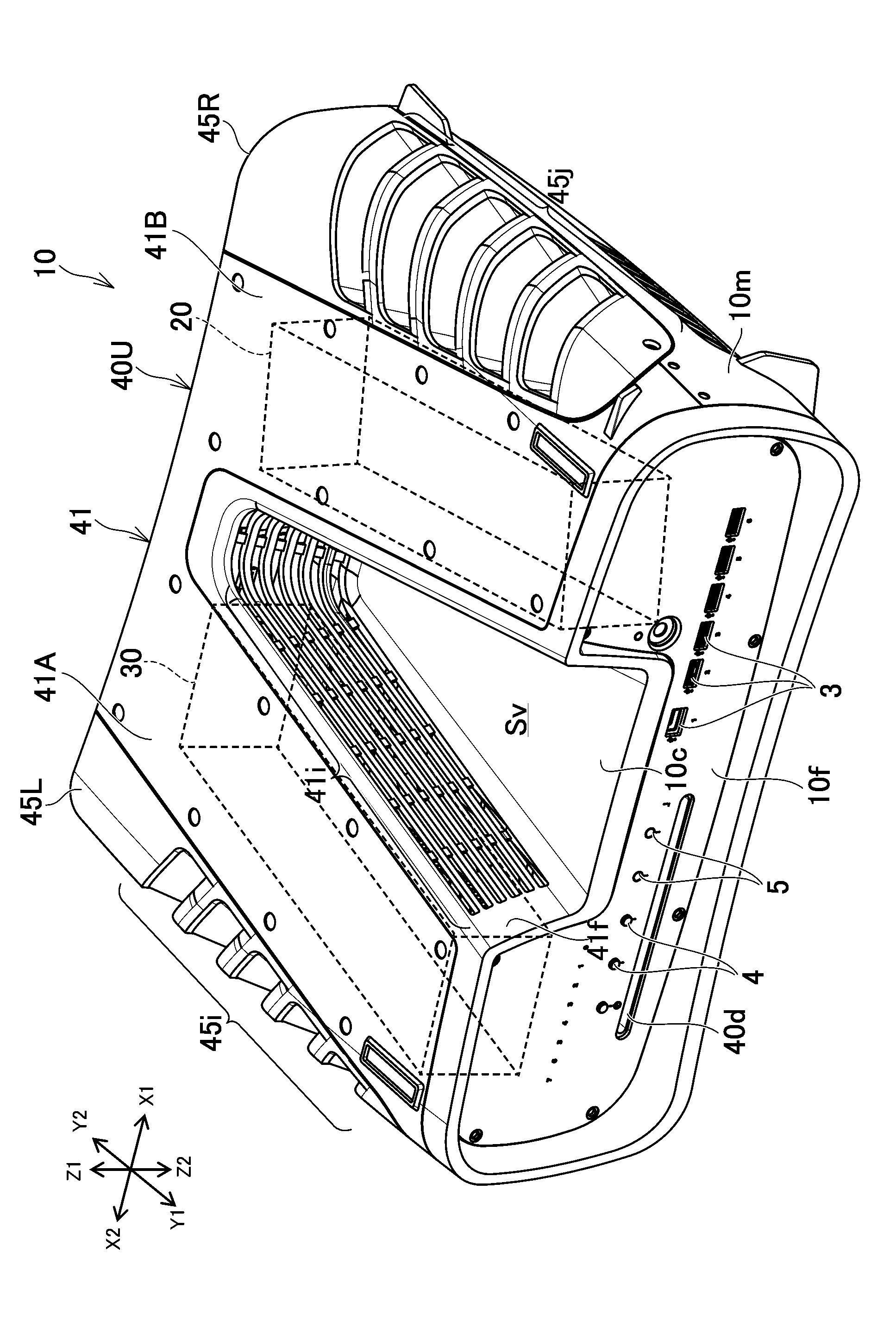
首先,从这里公布的专利设计图中,可以确定的是PS5开发机使用的怪异“深V”造型是为了散热。在左右两侧索尼设计安排了两组共计六个风扇。以吹向开发机左侧散热器和右侧电源组件,帮助其快速散出产生的热量。因为开发机不同于零售版游戏机产品,用于开发游戏的这种硬件设备需要更高的稳定性,相对的对于散热的要求也会更高。这也许就是PS5独特设计的原因。零售版PS5不一定会使用这种外观设计。

索尼PS官方此前宣布推迟原定于本周举行的网络游戏展,虽然近日表示很快会确定新的日程,不过仍然没有公开表示何时会正式公布PS5的主机外形。

查看网友评论   返回完整版观看

返回上一页  首页 | cnbeta报时: 04:54:47

文字版  标准版  电脑端

© 2003-2026