返回上一页  首页 | cnbeta报时: 17:02:01
苹果公司研究Apple Pencil笔尖适配器 增加力感应按键
发布日期:2020-05-27 00:58:06  稿源:Win10s.COM

Apple Pencil未来可能会在手写笔上添加一个力感应按钮,苹果正在研究如何在现有笔尖上添加一个适配器,为用户提供这个按钮。苹果在设计Apple Pencil的时候,完全没有设计任何外部按钮。虽然其他触控笔系统提供了按钮,可以进行替代性选择,类似于鼠标上的第二个或第三个按钮,但Apple Pencil用户却没有这样的选项。

如果苹果公司要增加一个按钮,那就必须在下一代Apple Pencil的重大改造中加入,因为现有机身中没有电触点可以增加一个永久性的按钮。有一种可能性是作为临时性的附加功能,它的核心是围绕着压感笔尖,增加类似的功能。

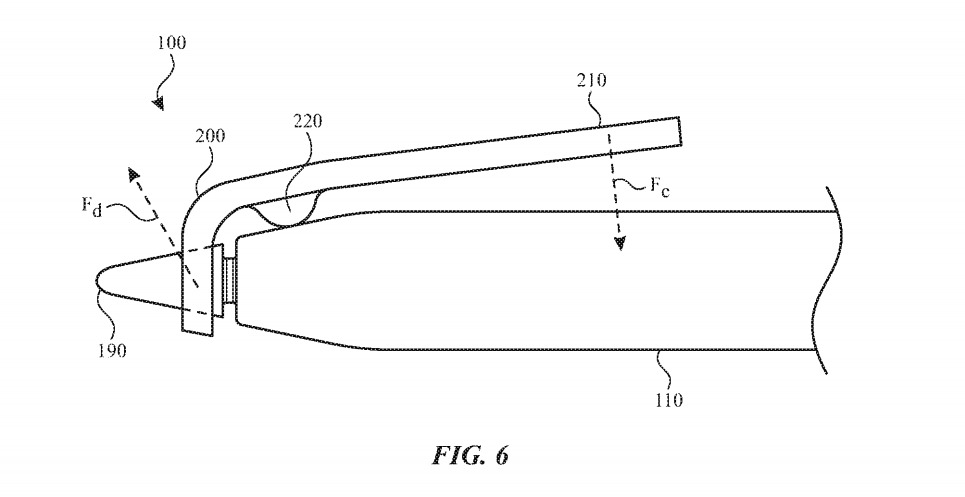
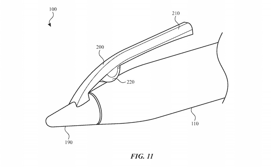
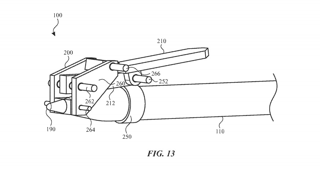
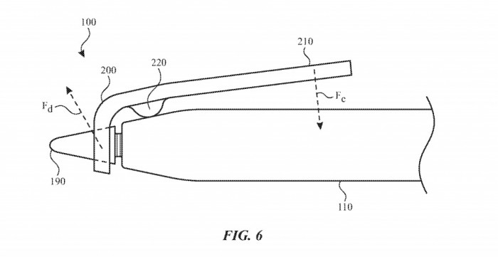
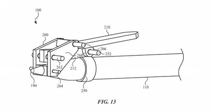
在周二美国专利商标局授予的一项名为 "带输入适配器的触控笔 "的专利中,苹果公司提供了许多可以应用于当前Apple Pencil的附件。虽然提供了多种选择,包括高度工程化的版本和使用支点的简单设计,但其影响笔尖的核心概念仍然是全线不变。

苹果公司的提案是基于这样的想法,即笔尖能够测量压力,无论是在笔尖被压入表面时还是被拉动时,笔尖都能测出压力。当适配器的摇杆或按钮部分受到干扰时,这就会在笔尖上施加一个力,一般是在活动笔尖的高处,这样就不会干扰正常的绘画或书写活动。

通过检测到这第二种力,Apple Pencil 可以判断出该配件正在使用,并可以将其登记为相当于按钮按下或点击的动作。根据配件的运动情况,理论上,它可以将笔尖向外拉,从而为按压按钮本身提供一个力道。

苹果提出的版本包括通过环形部分连接到笔尖的杠杆和支点,通过第二个环形部分连接到笔尖的探针、内置杠杆替代笔尖不连接到机身的版本,以及不连接到笔尖而与笔尖接触的机身连接件等。

此外,还有人建议通过可按压的切口部分在外壳上增加一个按钮,这也是一个可以影响笔尖压力传感器的按钮。这个选项更有可能作为未来型号的一部分提供,而不是作为Apple Pencil的附加组件。苹果公司每周都会提交大量的专利申请,但并不能保证这些概念会出现在未来的产品或服务中。

查看网友评论   返回完整版观看

返回上一页  首页 | cnbeta报时: 17:02:01

文字版  标准版  电脑端

© 2003-2026