返回上一页  首页 | cnbeta报时: 16:59:38
[图]新专利表明微软正研发Surface品牌的智能音箱
发布日期:2020-05-26 17:54:15  稿源:Win10s.COM

继谷歌、苹果、三星等科技公司推出自家品牌的智能音箱后,微软也即将进军该领域,正在研发一款搭载Cortana语音助手的便携式智能音箱。根据专利图片来看,这款音箱的外观有点类似于亚马逊的Echo,但体积要更小一些。

这份专利名为“Smart Speaker System with Microphone Room Calibration”,表明微软正在研究这样一款智能音箱。如果该专利产品真的投入生产,那么这款音箱很有可能会作为Surface品牌的设备上线。

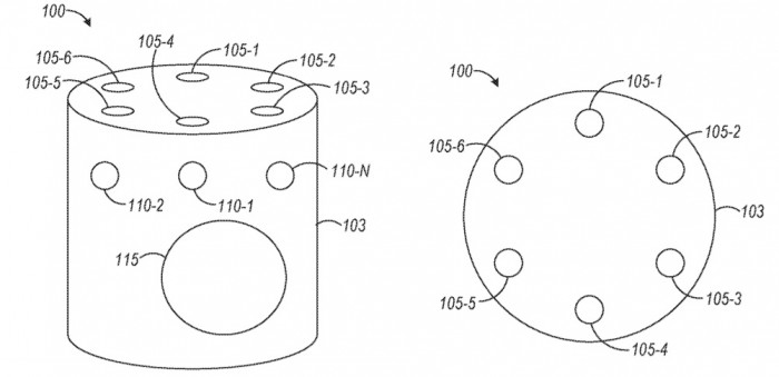
这款智能音箱利用互联网、Wi-Fi、蓝牙等无线协议标准,此外还带有光学传感器,在会议室里可以作为 "自发光"(self-lit)使用。该音响顶部有个麦克风阵列,最多可以容纳6个麦克风。微软表示,其专利设备还具备声控智能家居扬声器系统,可以根据房间大小进行校准。

在专利中并没有透露有关于该音箱的其他功能。首款支持Cortana的智能音箱是Harmon Kardon Invoke,不过它未能与谷歌、亚马逊或三星等公司竞争。有了自己的智能音箱,微软可以改正旧有的错误,在消费领域重振Cortana。

Harmon Kardon Invoke

查看网友评论   返回完整版观看

返回上一页  首页 | cnbeta报时: 16:59:38

文字版  标准版  电脑端

© 2003-2026