当下车辆的安全性能越来越被消费者所重视,车内的安全气囊数量也越来越多,不少注重安全性能的车辆,已经给车内配备了前后十气囊。但本田汽车认为气囊数量还不够,还要给车外安装气囊,保护行人安全。近日,据外媒报道,本田汽车公司申请了一项特别的安全气囊专利,车外行人保护气囊,可以保障车辆在撞到行人或者车辆时,减轻行人的伤害。
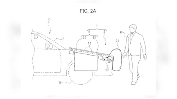
具体来看,从专利图可知,车辆前部配备有传感器,可以识别探测前方物体,如果检测到即将碰撞到行人或者自行车、摩托车时,会在碰撞之前,主动爆开气囊,减轻对方的人身伤害。
同时,传感器会探测碰撞时的速度和动能,从而来决定气囊爆开的强度和速度,避免气囊对行人可能会造成的危险。
除此之外,本田还申请了另一种专利。可以使得车辆在撞到行人时,防止行人从引擎盖上滑落,造成进一步伤害。
不得不说,在车外行人保护方面,本田一直走在其它车企前面。当前市场在售的雅阁车型,就有配备有主动弹开式引擎盖行人保护装置,当车辆不幸撞到行人后,引擎盖就会主动弹开,减轻行人的伤害。
但有车主反馈,这项配置的误发率较高,给车主带来不小的经济损失和困扰。甚至有网友称,自己家的一只猫,跳到了自己的引擎盖上,结果被引擎盖直接弹飞。而且自己去4S店维修引擎盖,又花了1万多。
当下,主动式行人保护装置,对于行车安全确实有益处,但从另一方面来说,保护装置误发,也会对车主造成不小的损失。因此,有车主要求取消这种配置。对此,你怎么看呢?


