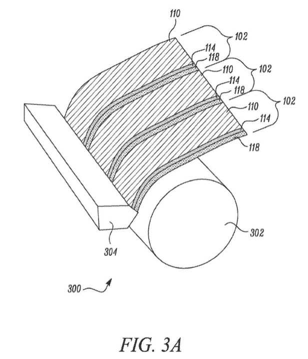
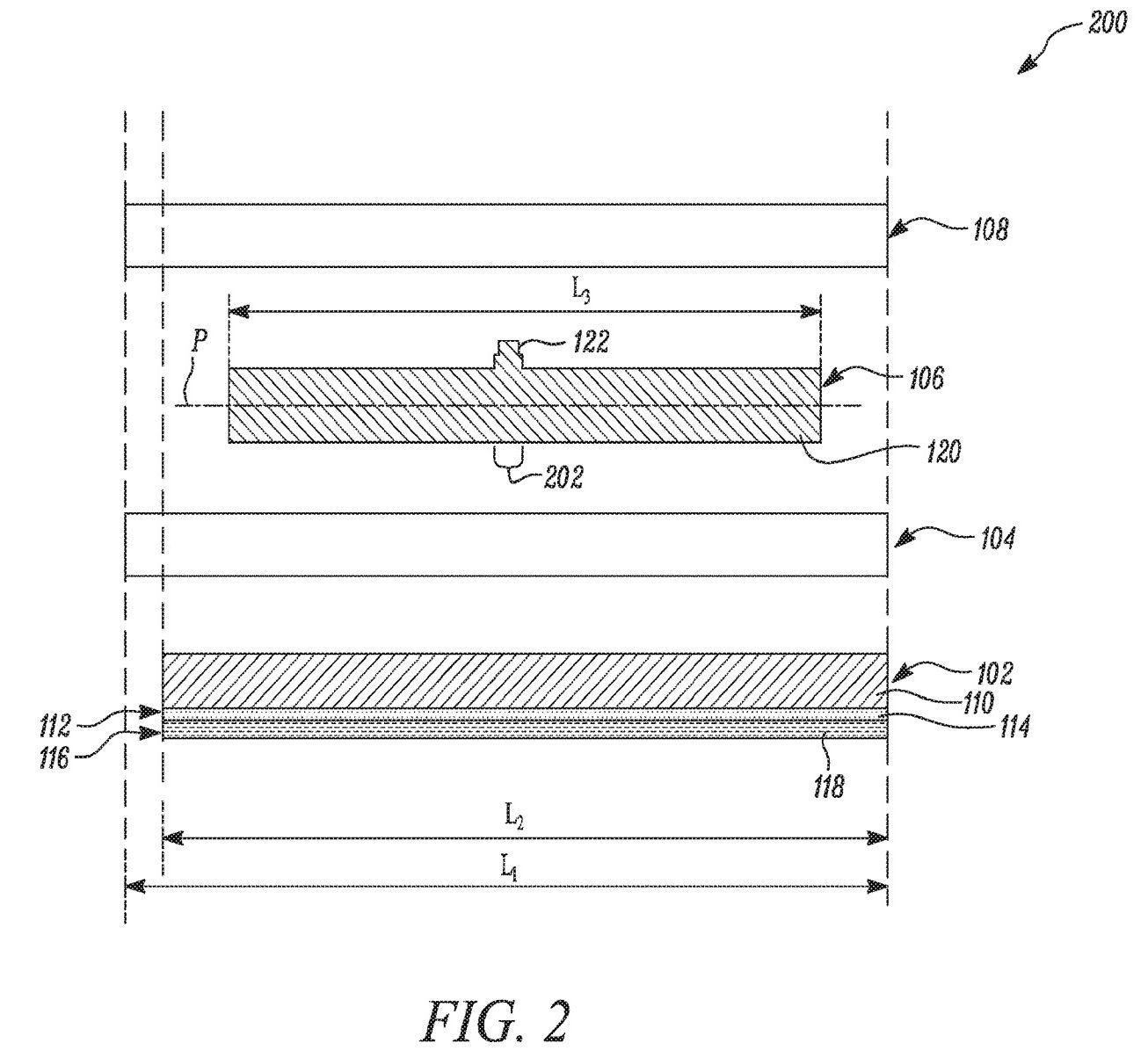
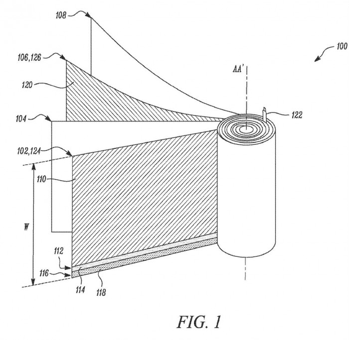
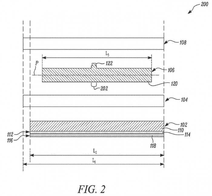
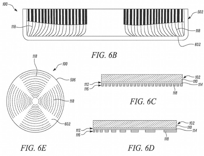
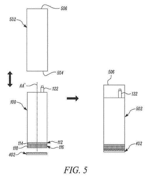
5月8日消息,据国外媒体报道,电动汽车制造商特斯拉已经为一种新型无凸片电极电池申请了专利,该专利名为“无凸片电极电池”(Cell with a Tabless Electrode)。在新专利申请中,特斯拉解释了当前电池的限制,即由于凸片是额外的部件,它们增加了成本,也带来了制造方面的挑战。
原标题:特斯拉申请新的电池专利 马斯克:“这种电池远比听上去重要”
而这项新专利描述了一种构建电池的新方法,这种方法刚好可以避免这个问题。
特斯拉首席执行官(CEO)埃隆·马斯克(Elon Musk)宣称,这种电池“远比听上去重要”。
特斯拉在电动汽车行业处于领先地位,这在很大程度上取决于该公司的电池,或者更具体地说,取决于它的电池化学成分。
去年,特斯拉的电池研究伙伴、达尔豪西大学(Dalhousie University)的杰夫·达恩(Jeff Dahn)和他的团队公布了一种新型电池的测试结果。
这种电池是一种锂离子电池,采用新一代“单晶”NMC 532阴极和一种新的先进电解质,可以使电动汽车持续行驶100万英里(约合161万公里)。
据悉,特斯拉正在生产自己的电池。该公司的目标是,使用其内部团队开发的技术以及最近通过收购Maxwell获得的新技术来生产自己的电池。
此前,外媒报道称,该公司正致力于其内部神秘的Roadrunner项目。目前,该公司已经在该项目下测试了电池原型。该公司相信,它可以批量生产这种电池,并将其用于电动汽车和固定储能产品。


