苹果公司持续致力于开发自己的汽车,与过去发布的那些专利一样,苹果似乎正在对车辆设计中使用的标准元素进行激进的重新设计,这可能会导致最终发布的苹果汽车非常现代化。
美国专利和商标局周二授予苹果公司的一项专利名为 "显示器的外观集成",该专利提出可以改变汽车内显示屏的显示方式。目前的显示屏通常用于导航系统和媒体播放,目前的显示屏在车内的摆放位置相当明显,但苹果公司建议可以将其隐藏起来。
在这项专利核心部分,苹果公司建议为显示屏搭配一个覆盖层,将其隐藏起来,作为车辆总体设计的一部分。该覆盖层可以包括一些元素,比如接受输入的力和触摸传感器,以及电子百叶窗等。覆盖层本身可以被涂上涂层,使其看起来像是由皮革、织物、木材、塑料、金属、纤维复合材料和其他物质制成的,这表明这个想法可以适用于各种汽车内饰设计。最关键的是,该覆盖层可以通过使用极薄的外部覆盖材料,或者包括穿孔让光线透过。
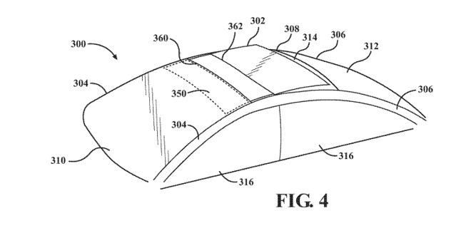
今天曝光的第二项苹果专利 "可移动面板组件 "涉及车辆的天窗,苹果提供了一些可以改善整体设计的调整。苹果专利当中,天窗有一个可控的可变半透明区域。该面板将能够根据面板的移动情况在不同的透明度状态之间切换,例如打开时变得更加透明,关闭时变得不透明。
在滑动面板上还可以使用密封结构,使其在关闭时更牢固地固定在车顶上。当接触时,密封结构可以帮助防止雨滴进入车内。



