对于可折叠手机或平板电脑来说,最明显要解决的问题,就是屏幕问题。我们已经看到苹果在显示屏的铰链上下功夫,不过,还有其他的组件也需要灵活,苹果将目光投向了电池。来自苹果公司的新研究详细介绍了许多不同的方法,使电池具有足够的灵活性,可以与iPhone或iPad中的可折叠显示屏一起使用,或者是节省普通设备内部空间。
美国专利号10,637,017的苹果专利名为"柔性电池结构",关注的是如何为可折叠显示屏供电,但它也在寻求解决所有设备中经常出现的问题。苹果在专利当中表示:"电池往往会占用便携式电子设备大量空间,随着设备的耗电量越来越大,需要为电池留出更多的空间。除了占用空间外,电池也往往相当僵硬,往往无法设计成弯曲形状,围绕着电池的设备部分也无法弯曲。"
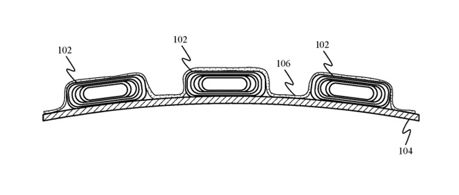
苹果的一种解决方案是将柔性电池片分成独立的区域,例如,可以将柔性电池片卷成离散的圆柱体,然后分布在柔性基板上,根据离散圆柱体之间的间隔和离散圆柱体的直径,所得到的电池可以至少在一个轴上弯曲。
该专利的大部分内容详细介绍了安装或堆叠电池片的不同方法,以及减轻电池材料上的应力,这可能意味着苹果摆脱了熟悉的矩形电池,苹果已经在2015年的MacBook中利用了可堆叠电池的想法。
苹果这项专利当中的柔性电池可以沿着柔性显示屏的所有四面分布,电池管理单元BMU和主逻辑板可以同时被封装在一个外壳内,被配置成通过缩回机构缩回,导致柔性显示屏被绕在一个圆柱形构件上。苹果这项专利描述了多种创建柔性电池的方法,可以创建多种不同类型的显示设备。

