返回上一页  首页 | cnbeta报时: 00:46:01
苹果新专利展示了带有横向刘海的iPad
发布日期:2020-04-02 06:16:54  稿源:Win10s.COM

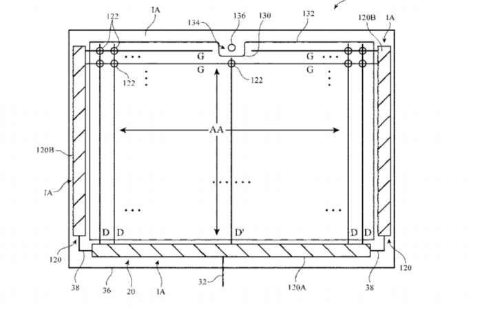
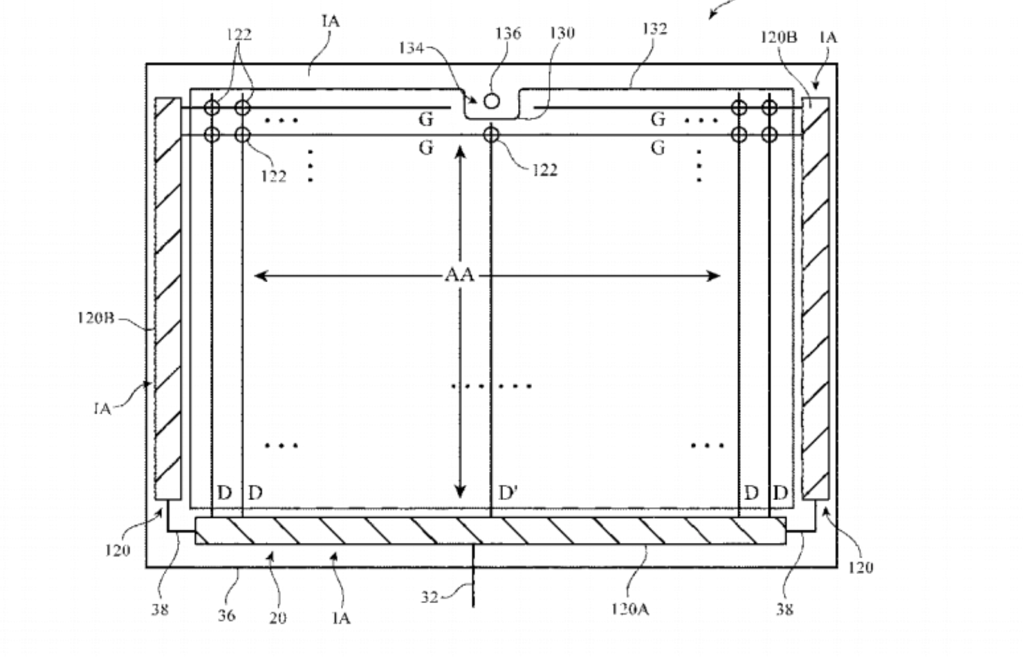
苹果最近发布的一项专利可以使我们对未来的iPad设计有所了解。这表明该公司已经认识到许多人更喜欢在横向模式下使用平板电脑,并且可能为iPad添加刘海屏。该专利于2016年8月提交,最近由USPTO发布。这项专利标题为“具有扩展活动区域的电子设备显示屏”。

苹果在专利当中表示,iPad在设计时考虑了横向使用,将前置摄像头放置在水平边框中。非活动区域可能有一层黑色墨水或其他遮罩材料,以阻止用户看到内部组件。活动区域可以有一个开口或凹口,该开口或凹口包含一个孤立的非活动区域(隐藏在边框中)。

随着苹果仍在推动iPad作为笔记本电脑的替代品,将摄像头从纵向移动到横向方向确实是有道理的,同时即将推出的新型Magic Keyboard使得横向模式成为用户更好的选择。这项更改还意味着人们在横向握住iPad时,不会意外用手遮盖相机,当使用Face ID解锁设备时,这尤其令人讨厌。

查看网友评论   返回完整版观看

返回上一页  首页 | cnbeta报时: 00:46:01

文字版  标准版  电脑端

© 2003-2026