为了解决现有折叠式智能手机经常遭受的铰链故障,苹果正在研发需要时推出而在不需要时又可收起的iPhone屏幕。苹果获得了第10,602,62号美国专利,名称是“具有柔性显示结构的电子设备”,专利内容表示,这种柔性显示屏可以包裹在一个或多个辊子上。
这项苹果专利目的不一定是复制旧式的羊皮纸滚筒,而是要使诸如iPad之类的设备,让其具有可以从机身内拉出的屏幕,并且辊子不需要像卷轴一样可见,而只是机构的一小部分,允许将这样的屏幕保持在装置内并展开。
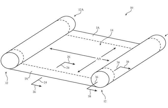
苹果该专利描述了一种应用,其中具有用于容纳印刷电路板,电子元件等的刚性部分,但是还具有可卷曲的显示屏。该专利解释说柔性显示屏可以包裹在存放辊上。 当将显示屏从外壳中拉出时,可以使用可选的展开辊来帮助展开显示屏。
展开辊将保持屏幕笔直且稳定,而不是像真正的旧羊皮纸辊那样使纸张在拉出时变得起皱。该专利继续说:“细长的双稳态支撑构件可以沿着显示屏的边缘延伸,或者可以与显示屏的中央活动区域重叠,以帮助在显示屏的伸出位置上加固和支撑显示屏。
