苹果继续探索Apple Pencil的新功能,现在两项新专利显示可能的新功能包括触觉反馈和指导,并在Apple Pencil本身上显示更多信息。苹果新专利显示,将来的Apple Pencil中可能会集成添类似Touch Bar的控件,并且还会显示通常会被笔本身和用户手部遮挡的图形视图。
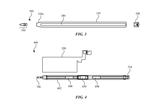
美国专利第20200089341号“带有玻璃组件的手写笔”中,苹果对此进行了描述。苹果表示,Apple Pencil的笔尖或当前平的侧面可以由玻璃制成,这将有助于输入和输出。Apple Pencil可以具有更多的触敏区域,并且玻璃部分可以用作显示屏。该专利申请还将玻璃的使用描述为对Apple Pencil的整体改进。
该专利指出,塑料和涂层通常是多孔的,容易被碎屑渗透,特别是在经常使用触控笔并接触其他表面时。因此,玻璃代替]触控笔的一部分提供了耐用的外表面,以抵抗碎屑的渗透并减少磨损的影响,玻璃构件可以以各种形状和布置提供,这些形状和布置提供美学选择,并可以根据个人喜好进行个性化定制,并且还可以利用触控笔内的电容式触摸传感器来促进对触摸输入的检测。
该专利表示,未来Apple Pencil它以用来检测用户的敲击,双击,三次敲击或其他敲击手势。另外触摸传感器可以用于检测用户的滑动手势或者用户的滚动手势。因此,Apple Pencil可能能够检测到用户何时在玻璃上滑动手指,或者只是何时将铅笔在他或她的手中滚动。例如,前者可用于让用户更改笔触的粗细,而后者可能是扩大选择敏感性的一种方式。
另外,该专利为Apple Pencil提出了彩色LCD笔尖,该新申请描述了在触控笔主体的玻璃侧面显示颜色。Apple Pencil本身可以显示例如从调色板中选择的颜色。铅笔玻璃面的显示屏可以显示出被Apple Pencil遮挡的部分屏幕画面,让Apple Pencil看上去透明。


