上周四,意大利北部伦巴第大区布雷西亚省基亚里的一家地方医院,紧急需要一种呼吸设备上用于吸氧的特殊阀门,以帮助因为冠状病毒来到ICU的病人。这个阀门的价格是10000欧元,约合77000元人民币。
然而价钱不是问题,问题是没货,阀门的原始制造商无法在短期内供货。[1]
这家医院通过当地报纸发布了求救电话,引起了米兰Fablab创始人Massimo Temporelli的注意。[2]
他人在米兰,没法赶过去,于是找到了基亚里附近的一家3D打印创业公司ISINNOVA,这家公司的创始人克里斯蒂安·弗拉卡西(Cristian Fracassi)马上响应,并一起探讨解决方案。[3]

Massimo Temporelli的脸书,描述了整个过程
他们最开始想寻求原始制造商的帮助,共享相关的3D文件,结果不仅遭到了拒绝,而且还威胁涉及专利侵权。
人命关天,克里斯蒂安继续前进,从头开始创建3D文件。他带领着员工对零件进行测量,定尺寸,重新设计,然后使用了三种不同技术(FDM、SLS、SLA)进行3D打印。
6个小时之后,3D打印的阀门出来了,制作成本是1欧元,也就是原来成本的万分之一。
3D打印公司克里斯蒂安的团队,在6小时之内完成了任务
他最初生产了10批来测试,然后又免费生产了100批。他承认3D打印版本不是非常耐用或者可重复使用,但是,可以廉价地进行替换。
这批阀门已经用到了10名入院患者的呼吸设备中。这可是救命之物。
开源或专利诉讼
然而,克里斯蒂安现在还不敢把3D文件共享给其他的医院,因为面临法律诉讼的威胁。
techdirt网站列举了最近的医疗检测设备专利侵权的例子,Theranos公司把拥有的专利FilmArray技术卖给了一家由软银资助的投资集团Fortress,Fortress正在起诉做Covid-19测试的公司BioFire侵犯了这一专利。[4]
但各种声援也同时到来。
意大利技术创新部长保拉·皮萨诺(Paola Pisano)在推特上对这一成就表示祝贺。[5]

意大利技术创新部长发推表示祝贺
增材制造网站3dpbm认为,虽然该阀门的模型仍受版权和专利保护,但医院可能有权在紧急情况下生产这些零件。
还有网友找到了阀门的专利和示意图。[6]
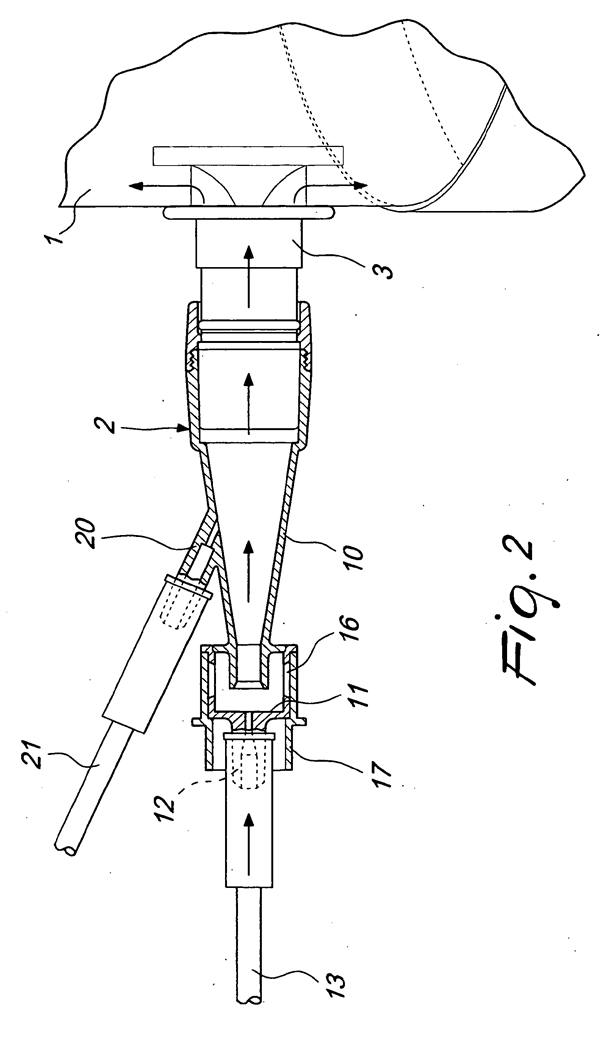
欧洲专利局编号为EP1852137B1的专利
专利注册在欧洲专利局下,是一种“呼吸治疗用氧气,或空气加氧气的装置”,阀门需要和呼吸头盔一起使用,用于患者的无创通气。专业名词叫做用于文丘里(Venturi)氧气面罩的文丘里阀。[7]
文丘里面罩是低流量面罩,当纯氧通过小孔口输送时,利用伯努利原理吸收室内空气,从而产生较大的总流量。
网友评论如潮,虽然大部分人都在谴责,但也有一些专业人士提出不同的观点。
网友Coward说,他从事医疗器械工作,抛开紧急情况,阀门比较特殊是有理由的。因为阀门是用于呼吸系统,肺在感染的时候很敏感,如果吸入3D打印可能脱落的材料会更严重。材料安全有很多知识。
网友Emoose说,做医疗设备要使产品获得批准,需要数百次迭代。这就是为什么一个简单的零件要花1万欧元。只有卖出更多,才能降低研发投入。[8]
3D打印还能干啥
3D打印社区甚至建立了一个紧急论坛,来分享各种对抗病毒流行的创意。[9]
比如像下图这样的3D打印开门器,可以避免和门把手的直接接触。它直接连接到现有的门把手上,具有桨状延伸部分,使人们可以用手臂而不是手来开门关门。
用手臂开门的3D打印开门器
这个创意来自于Materialize公司的内部会议,本来是想保护员工和访客。很多人觉得这很酷,于是公司决定免费共享该设计,任何人都可以直接下载并在本地进行3D打印。[10]
Materialize公司共享了3D打印文件
在疫情期间,运输变得困难,本地制造的能力凸显重要性。
引用来源:
[1]新闻来源,https://www.theverge.com/2020/3/17/21184308/coronavirus-italy-medical-company-threatens-sue-3d-print-valves-treatments
[2]MassimoTemporelli, http://www.temporelli.itl
[3]克里斯蒂安·弗拉卡西,https://www.facebook.com/Ing.Cristian.Fracassi
[4]专利侵权案例, https://www.techdirt.com/articles/20200316/14584244111/softbank-owned-patent-troll-using-monkey-selfie-law-firm-sues-to-block-covid-19-testing-using-theranos-patents.shtml
[5]意大利技术创新部长, https://twitter.com/PaolaPisano_Min/status/1239246094539915265
[6]专利, https://patents.google.com/patent/EP1852137B1/
[7]专利, https://patents.google.com/patent/EP2548600A1/
[8]网友评论, https://www.reddit.com/r/worldnews/comments/fkesql/volunteers_3dprint_unobtainable_11000_valve_for_1/
[9]3D打印紧急论坛, https://www.3dprintingmedia.network/3d-printing-unite-for-covid-19/
[10]门把手, https://www.materialise.com/en/hands-free-door-opener



