长期使用计算机的用户,如果要舒适地长时间工作,就需要拥有适合自己手部的鼠标。如果尺寸和样式错误,长时间使用键盘和鼠标等关键外设,可能会导致重复性的拉伤和其他后果。苹果公司在周二获得美国专利商标局一项名为“具有改变形状外壳的鼠标”专利。在这份专利当中,苹果提出了为所有用户使用一只鼠标的想法,这种鼠标可以根据用户需求改变实际尺寸。
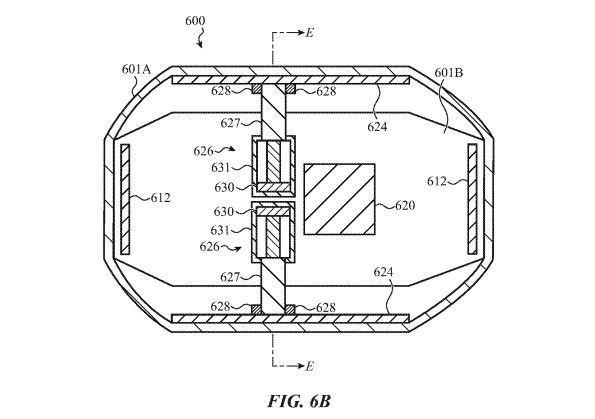
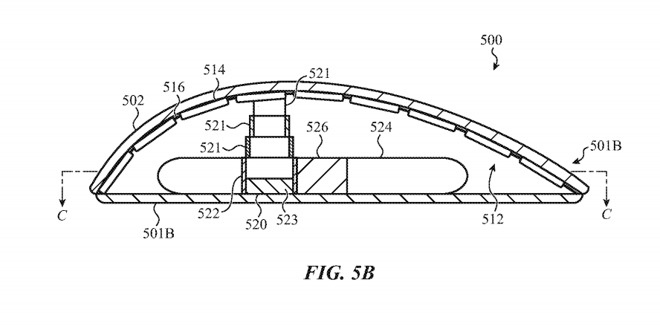
该专利描述了鼠标如何具有包含铰接构件的外壳,其顶部的外表面用于放置用户的手掌。致动器包含在外壳内,该致动器附接到铰接构件,从而在不同位置之间推动和拉动鼠标。通过铰接外壳,可以调节曲率和高度以满足用户的喜好,这也可以使鼠标更薄,从而使其比普通的圆形鼠标更易于存储和运输。
为了确保结构的完整性,外壳可以由重叠的部分组成,从而消除了可能的缝隙,这些缝隙在压紧时可能会夹住手指或削弱整体结构。尽管这种连接方式可以垂直应用,但苹果公司还暗示了鼠标变宽的可能性。侧面的滑出部分再次由执行器控制,可以弹出到各种位置以适应更大的抓地力。而这些弹出式元件仍可以包含在整个外壳中,这意味着鼠标可以保持光滑的外观而没有间隙或孔,同时仍然能够更改其尺寸。
致动系统可以采用多种形式,包括剪式机构,带有延伸支柱的旋转电机,用于更好地控制尺寸的多段致动器,甚至是基于磁铁的致动器。苹果每周都会提交大量专利申请,但不能保证所描述的概念将出现在未来的产品或服务中。



