苹果希望通过提供能够检测空中手指移动和手势的功能来构建Touch Bar,而不是要求用户触摸和滑动Bar本身。一项新的专利申请表明,苹果公司正在寻找扩展其Touch Bar概念的方法。用户可以在MacBook Pro机型上用Apple称之为“感应条”的手势来进行操作。
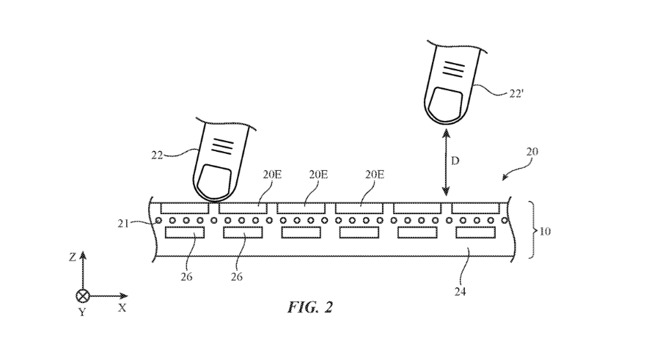
美国专利号20200081485的“带有传感条的电子设备”描述了一种可能给MacBook Air名称赋予新含义的笔记本电脑。该专利说:“电子设备可能具有细长的感应条。控制电路可以使用传感器带来收集来自用户手指或其他身体部位的空中手势输入。
非接触式手势(有时称为三维手势或空中手势)可能涉及这种类型的横向轻扫动作和/或可能涉及用户一根或多根手指在垂直维度上的移动。因此,用户不必去看触摸条上的位置即可进行操作,而是可以将手在“感应条”上挥动,例如进行音量控制等等。
这项苹果专利申请的意图,与苹果公司最近提出可能向MacBook Pro触控板和键盘添加屏幕的专利意图相反。因此,该专利旨在使用户能够专注于屏幕,并尽可能轻松地控制Mac的各个方面。使用“感测条上方的空中手势”这种能力旨在作为触摸的补充,而不是替代。

