目前iPad键盘通过蓝牙连接或通过Apple的Smart Connector进行物理连接,但是两者都有问题。基于蓝牙的设备依赖于电池来独立于iPad供电,而物理连接依赖于Apple硬件本身包括智能连接器,这种设计选择增加了公司的制造成本。
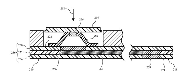
在周四由美国专利商标局发布的名为“远程电容接口”的专利申请中,苹果公司建议键盘附件可以连接到显示屏本身进行操作。苹果的解决方案是创建一个与显示屏接触的配件,作为其iPad皮套机制的一部分。申请书中的一项提议提出了一种滑动夹具,该夹具可以使iPad显示器的边缘与触点轻轻靠近。
触点全部沿显示屏的边缘隔开,每个触点对连接到键盘上的一个开关。当按下键时,开关被致动,使得能够进行连接,并且使接触触摸屏的触点改变其电特性。由于每个按键都有一个触点,沿着iPad显示屏的边缘排列成网格,因此iPad可以通过分析在显示屏边缘检测到触点的位置来轻松确定键入了哪个按键。从理论上讲,多点触摸显示器还能够同时检测到多个同时按下的事件,例如按下Shift键以及字母键或数字键
与现有系统相比,该设计确实具有一些优势,例如该附件无需使用电源即可运行,因为它所做的全部就是使用一个简单的开关和触点即可更改电容屏的特性。该设备的机械原理还使其可以在几乎所有使用电容式显示屏的平板电脑或智能手机上使用,而无需进行任何额外的工程设计。
Apple每周都会提交大量专利申请,但不能保证该概念会出现在未来的产品或服务中。


