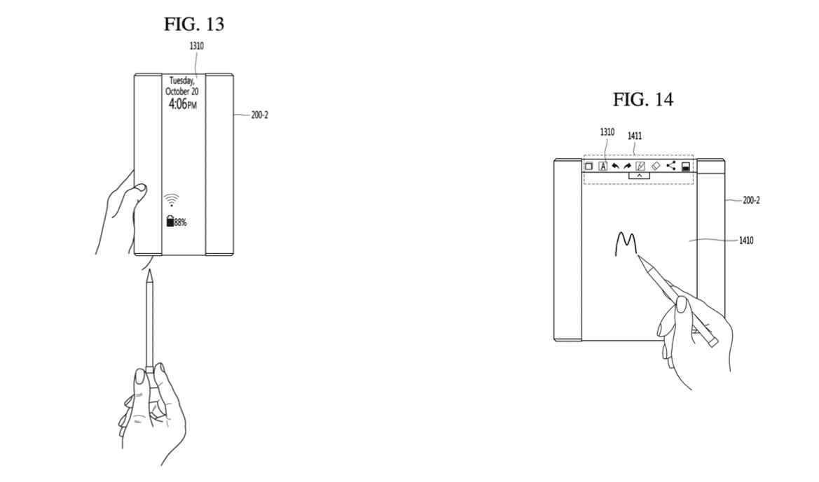
LG在CES 2019上推出了Signature OLED Rollable TV。顾名思义,显示屏在打开时会从底部滚出,在关闭时会回滚。这种高级设计引起了当时许多人的关注。现在,这家韩国巨头正在向美国专利局申请外观设计专利,正在研发一款可卷曲的智能手机。 91mobiles于3月5日发现了该专利。该智能手机上的显示屏从右侧推出,以提供类似平板电脑的屏幕。专利图片暗示LG正在使用电动机使显示屏自由运动以滚动进出。
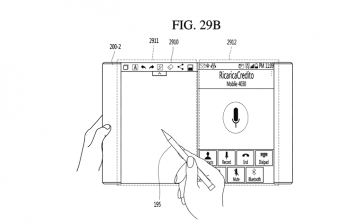
此外,LG手机还允许您打开屏幕的一部分以执行快速操作,例如回复消息等。完全滚动时,它具有细长的矩形或球形主体,屏幕的一部分位于外部,可以快速查看时间和应用通知。手机的顶部有一个摄像头传感器和主听筒。LG还将在这款可卷曲手机中加入手写笔。手写笔将放置在手机球形的底部。目前,手写笔似乎并没有提供任何特殊功能,但是可以用作手写笔记,绘图等功能。
此类智能手机的大屏幕尺寸将提供多任务处理的灵活性,您可以使用触控笔在屏幕的一侧进行画图或做笔记,而在另一侧则可以接听电话。鉴于该专利展示了手写笔的各种用例和重要的外形,LG可卷曲手机似乎针对设计者用户群。可以根据用户的选择,进行水平或垂直使用手机,并且屏幕方向将自动调整。鉴于该专利刚刚发布,因此无法确定LG将商业发布相关产品还是仅保留为一个概念而已。


