美国专利商标局授予苹果一项专利,显示该公司如何能使手表更纤细、更光滑。这家公司的目标是通过改变内部结构,将需要暴露在周围环境中的部件组合在一起。这些部件可能包括气压计、扬声器等,如果不暴露在周围的环境中,它们就无法工作。
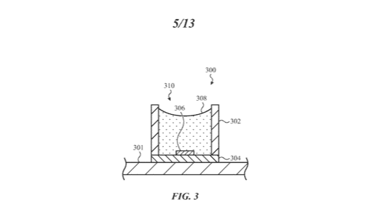
在当前的Apple Watch型号中,气压计,温度传感器,扬声器等组件位于机体内,但位于彼此分开的腔室内。这意味着气压计位于空腔中,温度传感器位于单独的空腔中,扬声器位于另一个空腔中。这些腔体的尺寸很小,但可以使元件充分暴露。该专利描述了一种新的实施方式,其中多个部件可以容纳在同一腔室中,该部件可以大于单个腔,但是总体上将占据较小的空间。而且,未来的Apple Watch型号可以具有多个这样的多组件腔室。
该专利描述了一个容纳气压计和Apple Watch扬声器的腔室。该腔室可以具有一个或多个开口,这是两个组件有效工作和空气畅通无阻所需要的,因此声音可以从扬声器中通过,并且气压计可以收集压力数据。实际上,根据专利,扬声器膜片还可以用作气压通风口。
同样,用于保护智能手表不受液体损坏的水封可以让空气进入气压计,但可以防止部件接触汗水、雨水、水的轻微飞溅等。这也有助于延长智能手表体内放置的水封的寿命,因为与它们接触的水更少。这种专利设计,将有助于确保组件和腔室所占的空间比现在少,未来的型号可以比目前的Apple Watch手表更紧凑。

