返回上一页  首页 | cnbeta报时: 06:25:36
较真游戏抽取概率,百万玩家围观“史无前例”的庭审
发布日期:2020-03-04 14:21:28  稿源:Gamelook游戏大观

2月28日,几十万人聚集在电脑屏幕前,观看一场“别开生面”的直播,因为抽取概率问题,一名玩家把游戏公司告了。这场庭审在中国庭审公开网上,第一天就有接近百万级播放量,成为本周最热门的案件。

与之相对,其他用户把互联网告上法庭的案子,绝大多数只有寥寥不过百的播放。足以见玩家“苦概率久矣”,和对起诉游戏公司的关注程度,而参与围观此次庭审直播的玩家,也给自己取了个雅号——“百万陪审团”。

玩家告厂商欺诈,厂商反诉恶意诉讼

此次案件被告是话题二次元手游《战双帕弥什》研发及运营商库洛游戏,原告是一名《战双帕弥什》玩家,于2019年12月4日,至2019年12月15日累计充值2000元,购买被告运营的《战双帕弥什》游戏内“虹卡”。原告玩家以“S级构造体”心理预期抽取概率1.9%,但实际为0.5%为由提起诉讼,要求法院判令原告库洛游戏退还人民币2000元,赔偿人民币6000元以及承担诉讼费用。

左上:审判员;右上:原告;

左下:被告代理人(律师);右下:被告代理人(策划)。

被告代理人(律师)答辩称,原告参与的所有抽奖行为符合以1.9%为掉落几率的结果。并指出在提起诉讼后,原告仍主动、持续参与抽卡行动,接受被告提供的游戏服务,因此原告行为属于明知合法权益已经实现的情况下,仍然通过律师函及诉讼之方式恶意维权、恶意诉讼,请求法院驳回原告全部诉讼请求并提起反诉,请求判令被反诉人赔偿反诉人经济损失5000元及承担诉讼费用。

针对反诉状,原告答辩称,12月15日游戏更新后仍在玩游戏,并不能使原告在之前的欺诈行为正当化,也不意味着原告没有受到被告的欺诈,起诉也是为了为何合法权益提起,属于行使正当诉讼权利。

庭审进行到这一步都比较“正常”,但随后发展在玩家眼中变得戏剧化,审判员开始询问被告“S级构造体究竟是什么”的问题。随后,类似“逆元碎片”“仰光”等游戏术语不断砸向审判员,玩家笑称判个案被灌输了一大堆奇怪的二次元游戏知识,随后审判员询问原告“为什么要抽”的问题,也被视作对二次元玩家存在本质发出质疑的“灵魂质问”。

1.9%还是0.5%,这是个核心问题

开庭之前,在外界看来,双方争论的焦点应当是实际抽取概率究竟是1.9%还是0.5%。但是,整个庭审过程原告、被告争辩有些失焦。被告代理人(律师)采取从原告动机着手的策略,一方面数次指出原告提交材料与事实不符,另一方面坚称原告恶意诉讼,理由即原告在明知概率有问题的情况下仍在参与抽取活动。

为何有1.9%和0.5%两个数字,在此做一下背景交代。12月15日游戏更新前,按照文化部《关于规范网络游戏运营加强事中事后监管工作的通知》,《战双帕弥什》公布了“S级构造体”抽取概率为1.9%。该概率实际为基础掉落加上保底的综合概率,按照每60次抽卡出发一次保底的情况,1000次抽卡将出现16次保底。

但玩家认为,保底不应当被算入总概率当中,因为保底机制破坏了“随机”性质。注意到玩家情绪的库洛游戏,曾在12月15日游戏更新时,细化公示了“S级构造体”含保底1.9%、基础掉落0.5%的字样,并对玩家发放了补偿,这一举动在当时得到了不少玩家的认可(就当无事发生过)。

但部分玩家并不认可这一结果,在经工商部门调解无效后,最终走到了对簿公堂的地步。

在原告直接发问概率究竟为1.9%还是0.5%,被告代理人拒绝回答该问题。审判员询问被告代理人是否修改过概率,被告代理人称没有修改概率,只修改了概率说明,以便玩家更好理解。

在庭审最后,由于原被告双方均不愿接受调解,因此庭审宣布休庭,择日宣判。

审判结果意义重大,影响堪比“开发票”

由于“百万陪审团”多数成员是玩家,在情感上、网络舆论更加倾向于原告。但是不少玩家理智分析认为,从此次庭审过程来看原告已“危”。当然,在正式宣判结果公布之前,任何猜测都不具实际效应。

更多人担心,此次被告代理人从原告动机出发进行质疑,尽显专业无可厚非,但在公开审理百万人观看直播的情况下,容易造成更大影响,如“赢了官司失了人心”。

而从库洛游戏,乃至整个游戏行业角度出发,此次庭审结果可能会对将来游戏行业产生重大影响。如果法院支持原告诉求,并不是一笔万元左右的损失如此简单,游戏公司还要面临被案例鼓励,而蠢蠢欲动的玩家群体,未来可能因为难以避免的运营事件被玩家抓住机会,疲于应付玩家不断提起的诉讼,陷入泥潭当中。在玩家愈发重视自身权益的今天,这一情况并非完全不可能,一如此前蔓延普及的“开发票”事件。

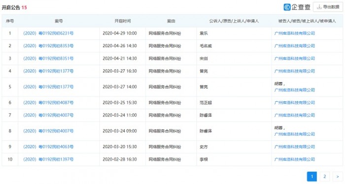
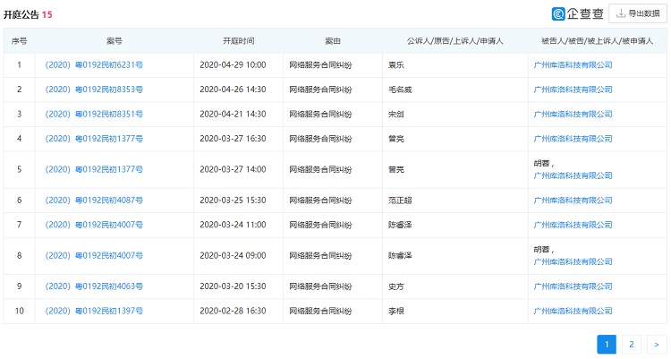
事实上,此次庭审并非唯一一起游戏玩家对于库洛游戏的诉讼,企查查数据显示,涉及库洛游戏为被告的司法案件仍有15条开庭公告,案由均为网络服务合同纠纷。这也不难理解库洛游戏为何要反诉原告恶意诉讼,被玩家解读为表明立场。

反过来,这起案件也提醒游戏厂商,未来需要更加严谨,重视游戏内文字表述,科学、合理设计游戏机制,尽量规避因为歧义、理解偏差造成的潜在风险。厂商必须意识到,这届玩家除了对于游戏品质需求在上升,对于运营事件的容忍程度也在降低,尽管在许多情况下,这种容忍降低甚至易进化成吹毛求疵、碰瓷,但做好自己,是抵御一切风险的根本。

查看网友评论   返回完整版观看

返回上一页  首页 | cnbeta报时: 06:25:36

文字版  标准版  电脑端

© 2003-2026