周二美国专利商标局授予的一项专利显示,苹果公司生产的可折叠iPhone或iPad可以包括一个柔性外壳,该外壳可以保护移动设备的屏幕和硬件,同时还可以应对打开和关闭的严格要求。在专利当中,苹果建议在同一设备内使用彼此耦合的柔性覆盖层和柔性显示层。这两层被配置为在折叠和展开时能够在两种不同的构造之间移动,其中在特定点弯曲的覆盖层被称为“可折叠区域”。
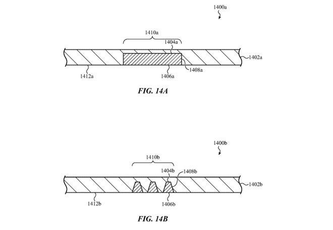
覆盖层的可折叠区域可以使用诸如玻璃,金属氧化物陶瓷或其他陶瓷材料的陶瓷材料来创建。在某些情况下,覆盖层可以由连续的陶瓷材料层组成,提供抗冲击或耐刮擦的表面。连续层部分可以被处理为具有可变的厚度,以使其能够在特定点处折叠。这可能还包括在内侧或外侧添加凹凸特征以允许材料移动,并填充较软的材料以提供一些支撑,同时仍保持可延展性。
可以将类似的凸纹特征添加到显示器的基板,使其能够沿着特定的线折叠。同样,为了保持强度,可以在凸版切口中添加透明填料,但该材料必须具有与基材折射率匹配的光学折射率。简而言之,这是带有浮雕部分的玻璃基板,该浮雕部分填充有透明的塑料或二氧化硅。浮雕结构和填充物的使用是为了应对压应力,浮雕带走了物料,留下了空间,这使屏幕可以更自由地移动。
Apple每周都会提交大量专利申请,但该专利不能保证出现在最终产品或服务中,但它确实表明了苹果一直在开发与折叠式显示屏相关的开发工作。


