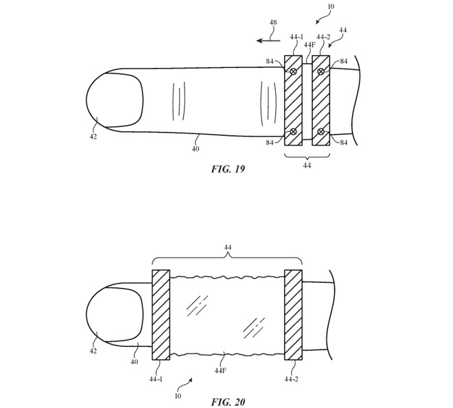
苹果设计的智能戒指可以采用可扩展的设计,这种设计可以延长戒指的长度,使其成为一个手指大小的管子,使其能够使用更多的传感器和执行其他功能,而不是一个较小的简单戒指。智能戒指有可能为用户提供类似于苹果手表的功能,但体积较小,不会占用用户手腕的空间。虽然设计智能指环的部分挑战涉及将组件塞进一个小空间,但也存在其尺寸问题,因为缺少表面积,无法为嵌入式传感器的使用以及用户对其进行精确控制提供机会。
苹果公司在周二获得美国专利商标局授予的名为“可扩展环设备”的专利中,称智能指环的大小不一定是静态的,可以将指环扩展成更长的管子,该管子可以覆盖更多的手指,包括一些指关节。苹果公司提议用智能环控制其他设备,例如替换力反馈手套或替换智能手机中的触觉反馈系统,以节省电池。
该装置可以包括一个带有各种传感器的外壳,包括力传感器、超声波传感器、惯性测量单元、光学传感器和触摸传感器,这些传感器可用于收集用户的输入。触觉反馈也可以通过在同一区域内添加振动产生元件来提供,而控制电路将处理信息在主机设备之间的传输。
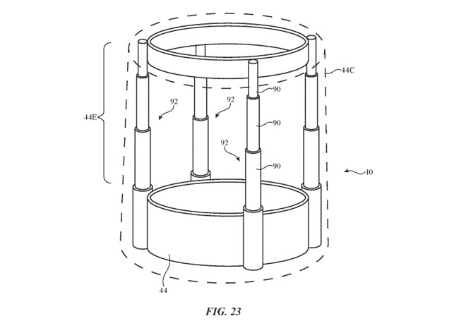
苹果这种指环可包括具有可扩张部分的环形主体,该可扩张部分可沿着手指朝尖端延伸。根据设计,其中包括具有铰链的折板,可旋转的壳体构件,用于可调节扩张的嵌套壳体段。扩展部分可以包括一个带有伸缩脚和盖子的内部可调框架,使其更加坚固,并确保可以更安全地检测到触摸或力度输入。
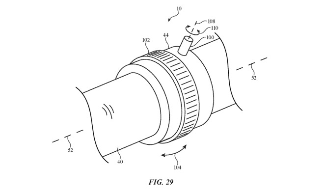
苹果还提出,该产品可以在主戒指外壳上包括可旋转的按钮和其他输入元件。苹果之前已经在研究智能指环,包括2019年10月的一项设计,该技术涉及一个手指安装的触摸屏,能够向附近的另一台设备发送命令。 2019年11月的一项专利显示,苹果智能指环可以帮助检测用户的增强现实或虚拟现实运动。



