返回上一页  首页 | cnbeta报时: 17:17:16
索尼新专利显示PS5可能获得Xbox Series X无法获得的新功能
发布日期:2020-02-25 01:30:28  稿源:Win10s.COM

临近3月,索尼尚未透露PlayStation Meeting 2020活动的任何计划。但是,最新与PlayStation相关的专利显示了Xbox Series X可能无法获得的游戏手柄新功能。

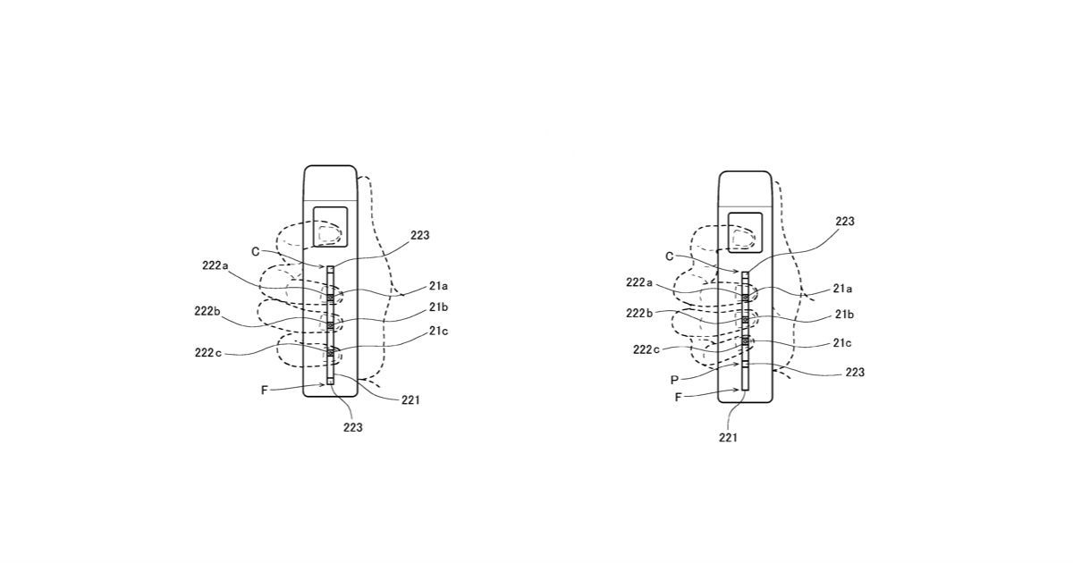
索尼的一项新专利透露,索尼正在考虑向控制器添加生物反馈以改变游戏体验。该专利由Respawn First发明,描述了一种传感器,该传感器可使游戏手柄测量皮肤的电活动(汗液分泌)和心率。根据玩家的生物反馈,可能会改变整个游戏体验。该专利还解释了生物反馈将用于从选项中进行选择,而无需用户提供任何输入。

PlayStation相机也可能用于捕获用户数据。索尼还表示,新的游戏手柄功能“为玩家提供了身临其境,高度互动的用户体验”,并且可能最适合虚拟现实(VR)游戏。当然,VR是PlayStation相对于Xbox的优势之一,而且已经有传言称Sony将为PlayStation 5推出PSVR2。、

根据另一项专利显示,VR迷可能会获得一个全新的控制手柄。专利图当中的控制手柄看起来与目前PlayStation Move控制手柄完全不同。该控制手柄具有内置传感器,能够检测用户的手和手指的运动,带子可以让用户将手柄固定在手上,以确保用户在玩VR游戏时不会掉落。手柄的任何及时反馈都可以转化为屏幕上的即时操作。控制手柄还具有物理按钮,可能需要这些物理按钮来触发不依手部运动的动作。

查看网友评论   返回完整版观看

返回上一页  首页 | cnbeta报时: 17:17:16

文字版  标准版  电脑端

© 2003-2026