未来版本的Apple Pencil可能包括一个系统,该系统可以在握住手写笔时为用户的指尖提供振动体验,并且还可以检测用户如何握住设备。目前苹果触控笔还没有使用触觉反馈,部分原因是用户希望保持对触控笔的完全控制,同时,Apple Pencil是一款非常小的设备,几乎没有多余的空间容纳考触觉反馈系统。
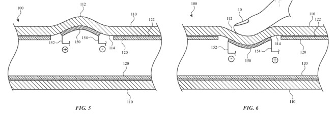
美国专商局(USPTO)周二授予苹果的一项名为“带触觉反馈,基于触摸的输入设备”专利。专利文件详细说明了系统如何用于执行两项工作:向用户提供触觉反馈,同时还能够读取从使用者的抓握力度。苹果公司的建议涉及使用一种压电设备,该设备连接到外壳的内部,该压电设备将连接到外壳的用户握持区域。握持部分可以向内和向外变形,从而可以用于向用户提供信息以及获取握持数据。
当压电装置需要通过触觉反馈来提醒用户时,理论上它将在握持区域中推出壳体。动作不依赖于振动和打扰,而是取决于触摸感如何检测到细微的动作,因此仅需要很小的变形就可以将消息传递给用户。在Apple的建议中,笔的圆周上可能有多个压电设备,使其能够在多个不同位置提供触觉反馈,包括用户握住触控笔的方式的变化。
同时,压电装置将能够读取用户的手向其施加的力的大小。这可以帮助告诉系统用户如何握住手写笔,从而更好地确定要变形的区域,进行触觉消息传递而不会干扰绘图运动。最终,苹果公司建议通过触觉反馈来提醒用户注意界面元素,例如应用程序中按钮的边缘,图标的存在或用户可以在其中书写或绘制的区域。
苹果每周都会提交大量专利申请,因此不能保证这项专利会出现在未来的产品或服务中。


