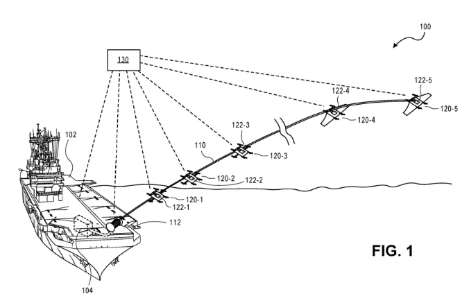
一份新公布的亚马逊专利已经列出使用连接到天线的数英里长的巨型鞭子将物体送入太空的新方法。该专利由GeekWire发现,于2017年3月提交,但本周早些时候才公开。有趣的是,该方法可以提供一种有效的方式来发射有效载荷,有可能将其发送到低地球轨道。

这是一个很疯狂的想法。亚马逊的专利显示,鞭子的一端是绞盘,另一端是通过空中绞车连接到海上交通工具(例如船只)上。沿着鞭子的是一系列其他的飞行器,它们可以帮助产生鞭子波形,也可以通过鞭子本身获取动力。

该专利的描述和图像表明,亚马逊的发明者考虑到了像卫星这样的有效载荷。类似于SpaceX的Starlink计划,它很适合亚马逊使用卫星网络在世界范围内提供互联网的计划。但是,发射那么多卫星将十分昂贵。
亚马逊发言人在给GeekWire的一份声明中说,类似的专利“不一定反映[其]当前的产品路线图。” 它补充说:“像许多公司一样,我们提出了许多具有前瞻性的专利申请,以探索新技术的全部可能性。”