返回上一页  首页 | cnbeta报时: 02:09:56
PS5似乎并不是PlayStation正在开发的唯一新硬件产品
发布日期:2020-02-15 08:41:35  稿源:Win10s.COM

据外媒报道,看起来索尼PlayStation近期不单单有推出PS5的计划,还有一款设备--PlayStation VR头套似乎在开发计划中。彭博社报道:“另外,索尼计划在PlayStation上市后尝试性地推出新款PlayStation VR虚拟现实头套。”

实际上这已经不是人们在PS4上市之后第一次听到PSVR的消息了。去年4月,该公司首席系统设计师Mark Cerny证实,最初的PSVR头套将跟PS5兼容,另外他补充称,VR对索尼未来的发展“非常重要”。考虑到索尼已经在全球售出了超500万台PSVR,所以新一代产品的推出似乎是必然的。眼下,彭博社的报道只待官方来确认。

psvr-actuator.jpg

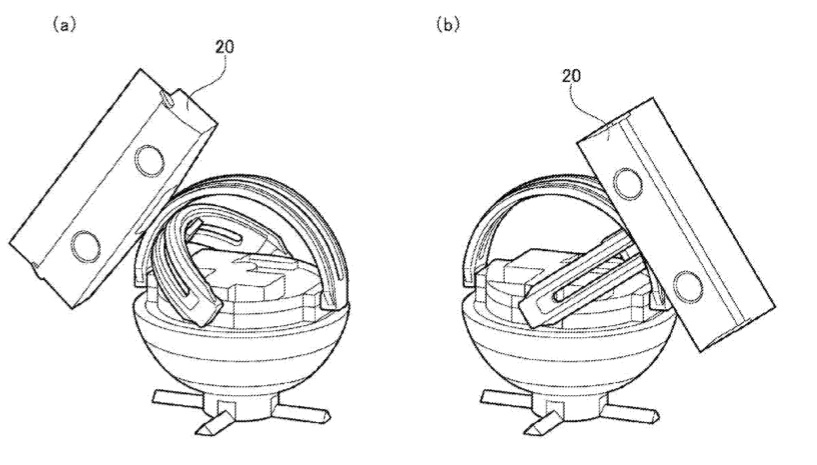
尽管索尼还没有对其家用游戏机上的VR未来发表过太多看法,但在2019年晚些时候被发现的一项专利到可能让人们对其硬件有一个初步了解。该专利描述了一个系统,该系统使用一个带有立体摄像头的球形设备并配有一个头戴式显示器,从而让两个人在VR中进行交流。当一位用户戴上头套时,他们将从球形设备上的摄像头和麦克风实时接收音频和视觉反馈。另外,这个球形装置也能反映佩戴者的动作。

查看网友评论   返回完整版观看

返回上一页  首页 | cnbeta报时: 02:09:56

文字版  标准版  电脑端

© 2003-2026