作为大家熟悉苹果公司此前推出AirPods等耳机产品受到消费者欢迎,随着技术发展,苹果或将推出有别于搭载传统功能按钮的耳机。据外媒报道称,美国专利商标局近日公布苹果耳机新专利“耳机旋转检测”——可触控手势控制耳机佩戴问题。
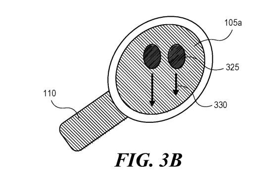
据介绍,苹果新耳机触摸手势控制专利显示耳罩外部配备有预期触摸面板和内部的控制电路,还通过多个传感器探测耳朵的位置,这个苹果新专利是先确定耳朵位置再确定耳机的方向。
苹果新专利还显示有电容式接近传感器在耳罩内部,然后自动检测耳机中的用户耳朵位置,自动调节调整触摸手势让用户带来更加舒适佩戴体验。为了更好确定耳朵的位置,苹果还将增加光学传感器和结构光传感器等。
据悉,苹果耳机新专利的发明者分别是苹果的硬件系统集成商Brooke L.Bunney和曾在苹果担任硬件工程师Jonathan R.Peterson,其中Brooke L.Bunney此前获得耳机方向相关专利,而Jonathan R.Peterson曾任职在音频产品硬件团队。

