去年 10 月 2 日,微软在纽约发布会上展示了 Surface Neo,且随附了环绕式的键盘配件。显然,为触控移动设备配备实体键盘,有助于极大地提升生产力、同时兼顾灵活的特性。Surface Neo 预装了 Windows 10 X,系统可识别这款键盘配件、并将屏幕的显示区域缩小 1/3 。

(题图 via Windows Latest)
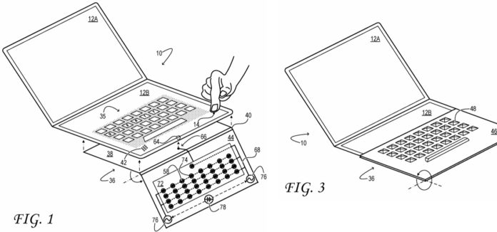
有趣的是,在一项名为“用于触摸屏的实体键盘覆盖层”的新专利申请中,微软讨论了如何计划使用位于其中一块屏幕上方的实体键盘、来打造全新 Surface 产品的方法。
留下丰富的输入区域,可便于用户在其中打开某些应用程序或表情符号。这也表明微软计划对 Surface Neo 和其它双屏产品使用类似的实体键盘布局。
显然,微软对传统设备的机械键盘还是相当看好的。尽管触屏提供了虚拟键盘,但在体验上仍逊于实体键盘。借助这项新专利,该公司提出了更好的解决方案。
微软表示:Surface 机械键盘可能带有单独且可弹性按下的按键,其中包括面向用户的外部和面向屏幕的按键。

文件写到:“电导体网络可将驱动信号传导至按键内部,在按下按键的时候,正下方的触屏区域可接收到触发信号”。
专利装置还包含了一个几乎可旋转 360° 的铰链附件,使实体键盘可折叠放置于触屏上方、或者触屏背面。
在其它示例中,可以采用不同的键盘安装和存放配置,比如将实体键盘永久地接附到主体设备上。
不过最有趣的,莫过于键盘可以做到透明或半透明,包括极简的细线和掺杂半导体的薄膜。